lemon-mirror:
Home >> Lincoln >> 2000 >> LS V8-3.9L VIN A >> Repair and Diagnosis >> Powertrain Management >> Computers and Control Systems >> Main Relay (Computer/Fuel System) >> Testing and Inspection

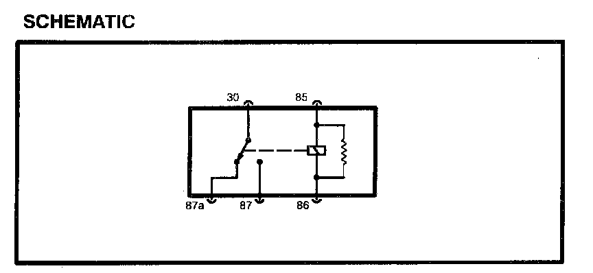
Main Relay (Computer/Fuel System): Testing and Inspection

INTRODUCTION

Component testing procedures are provided to determine whether a component is good or bad.






Testing information for each component includes a schematic with component terminal locations and step-by-step test procedures. Component terminals are identified by letters or numbers that may be marked on the component or call out if there is no mark on the component.



















The component connector MUST BE REMOVED before testing. To test a single circuit within the component, select that circuit under the column TO TEST. If you wish to test the complete component, perform all tests.



COMPONENT TESTING PROCEDURE (Voltage Applied)

Disconnect the ohmmeter; connect pins 30 and 85 to 12 V DC power and pin 86 to ground. Measure voltage between pin 87 and pin 86. If the voltage is 12 V, continue with the test. If not, replace the relay. Disconnect power from pin 85 and measure voltage between pin 87A and pin 86. If the voltage is 12 V, the relay is okay. If not, replace the relay.