lemon-mirror:
Home >> Lincoln >> 2000 >> LS V8-3.9L VIN A >> Repair and Diagnosis >> Diagrams >> Connector Views >> Control Module HVAC >> C228a

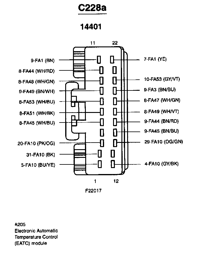
C228a