lemon-mirror:
Home >> Land Rover >> 2000 >> Range Rover (LP) V8-4.0L >> Repair and Diagnosis >> Transmission and Drivetrain >> Automatic Transmission/Transaxle >> Control Module >> Service and Repair

Control Module: Service and Repair




ELECTRONIC CONTROL UNIT

Remove





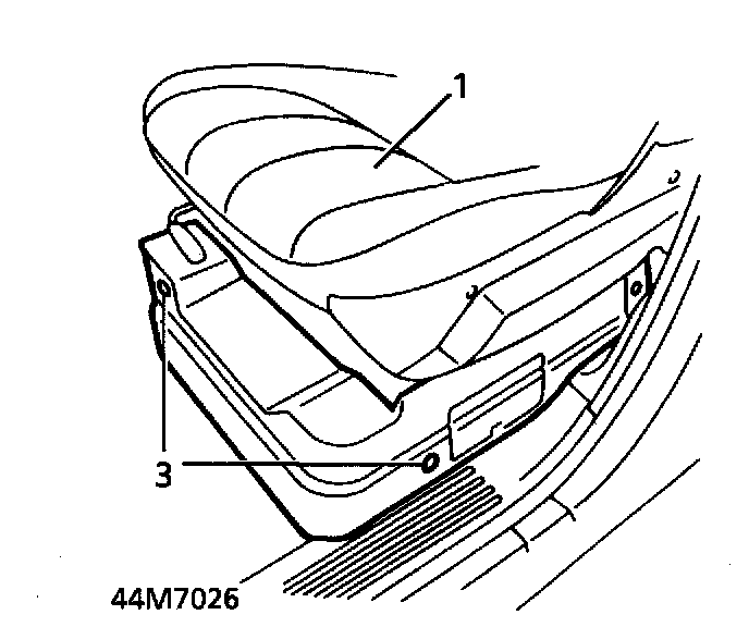
1. Move left hand front seat fully rearwards. Raise cushion for access.
2. Disconnect battery negative lead.
3. Remove 3 fixings securing trim to seat base. Remove trim.





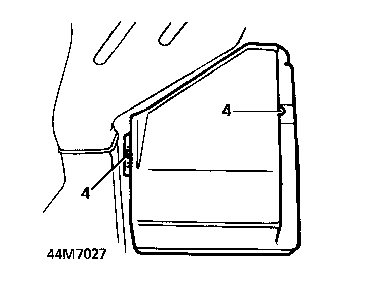
4. Remove 2 screws securing cover to ECU. Remove cover.





5. Release multiplug from ECU.
6. Remove screw securing ECU. Remove ECU.


Refit

7. Reverse removal procedure.