lemon-mirror:
Home >> Kia >> 2012 >> Soul L4-2.0L >> Repair and Diagnosis >> Diagrams >> Electrical Diagrams >> Automatic Transmission/Transaxle >> Control Module, A/T >> Transaxle Control Module (TCM)

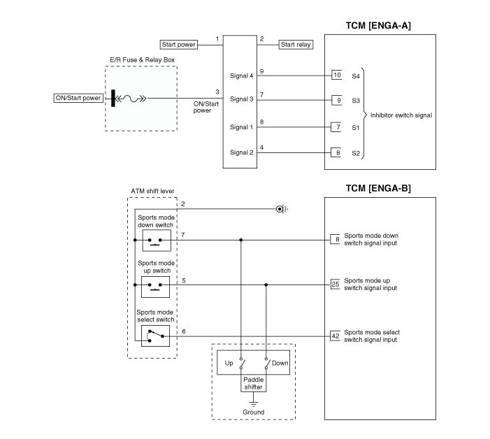
Transaxle Control Module (TCM)





1. TCM Connector and Terminal Function





2. TCM Terminal Function

Connector [ENGA-A]









Connector [ENGA-B]










TCM Terminal Input/ Output Signal

Connector [ENGA-A]













Connector [ENGA-B]






Circuit Diagram