lemon-mirror:
Home >> Kia >> 2012 >> Rondo (CANADA) L4-2.4L >> Repair and Diagnosis >> Heating and Air Conditioning >> Control Assembly >> Service and Repair >> Manual Controller >> Repair Procedures

Repair Procedures





SELF-DIAGNOSIS

The F.A.T.C. module self test feature will detect electrical malfunction and provide error codes for system components with suspected failures.
1. Self-diagnosis process





NOTE:
DTC data can be retrieved from the control panel directly.

2. How to read self-diagnostic code
After the display panel flickers three times every 0.5 second, the corresponding fault code flickers on the setup temperature display panel every 0.5 second and will show two figures. Codes are displayed in numerical format.
Fault code





3. Fault code display
(1) Continuance operation




(2) Step operation




4. If fault codes are displayed during the check, Inspect malfunction causes by referring to fault codes.
5. Fail safe
(1) In-car temperature sensor: Control with the value of 23°C (73.4°F)
(2) Ambient temperature sensor: Control with the value of 20°C (67°F)
(3) Evaporator temperature sensor: Control with the value of -2°C (28.4°F)
(4) Humidity sensor: Doesn't control.
(5) Photo sensor: None correction
(6) Temperature control actuator (Air mix potentiometer):
A. If temperature set 17°C-24.5°C, fix at maximum cooling position.
B. If temperature set 25°C-32°C, fix at maximum heating position.
(7) Mode control actuator (Direction potentiometer):
A. Fix vent position, while selecting vent mode.
B. Fix defrost position, while selecting all except vent mode.

REPLACEMENT

1. Disconnect the negative (-) battery terminal.
2. After loosening the mounting screw, then remove the center facia panel (A).




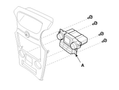
3. Remove the heater & A/C controller (A) after loosening 4 screws.




4. Installation is the reverse order of removal.