lemon-mirror:
Home >> Kia >> 2012 >> Rio L4-1.6L >> Repair and Diagnosis >> Body and Frame >> Locks >> Keyless Entry >> Testing and Inspection

Keyless Entry: Testing and Inspection





Inspection

Front Door Lock Actuator and Switch
1. Remove the front door trim.

2. Remove the front door latch.
.
3. Disconnect the connectors from the actuator.




4. Check actuator operation by connecting power and ground according to the table.
Check for continuity between the terminals in each switch position when inserting the key into the door according to the table

NOTE:
To prevent damage to the actuator, apply battery voltage only momentarily.

[without key (4Pin)]









[with key (6Pin)]]









Rear Door Lock Actuator and Switch
1. Remove the rear door trim.

2. Remove the rear door latch.

3. Disconnect the connectors from the actuator.




4. Check actuator operation by connecting power and ground according to the table.
Check for continuity between the terminals in each switch position when inserting the key into the door according to the table

NOTE:
To prevent damage to the actuator, apply battery voltage only momentarily.









Trunk lid/ Tailgate release actuator
1. Disconnect the negative battery terminal.
2. Remove the rear trunk lid trim (the tailgate trim) and then remove the trunk lid switch (the tailgate switch) from the actuator.

[Trunk lid latch]





[Tailgate latch]




3. Check for continuity between the terminals in each switch position according to the table.





Door switch
Remove the door switch and check for continuity between the terminals.









Door warning switch
1. Remove the steering column upper (A) and lower (B) shrouds after removing the screws.








2. Disconnect the 6P connector from the door warning switch.




3. Check for continuity between the terminals in each position according to the table.





Hood Switch Inspection
1. Remove the hood latch assembly.

2. Remove the hood switch (A) after loosening the mounting screw from hood latch.

[5 Door]




3. Check for continuity between the terminals and ground according to the table.





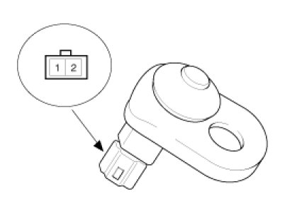
Burglar Horn Inspection
1. Remove the burglar horn (A) after removing 1 bolt and disconnect the 2P connector from the burglar horn.

[5 Door]




2. Test the burglar horn by connecting battery power to the terminal 1 and ground the terminal 2.
3. The burglar horn should make a sound. If the burglar horn fails to make a sound replace it.