lemon-mirror:
Home >> Kia >> 2012 >> Optima L4-2.4L Hybrid >> Repair and Diagnosis >> Hybrid Drive Systems >> Power Control System >> Drive Motor Control Module >> Specifications

Drive Motor Control Module: Specifications





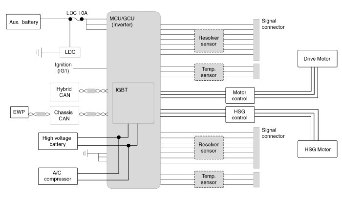
System Circuit Diagram

A high-capacity power module is applied to control 2 primary motors using high voltage. The power module is composed of a high-speed switching insulated gate bipolar transistor (IGBT) and a diode circuit. The high voltage battery capacity is about 270V, but to ensure stability and reliability the power module uses high capacity power with a maximum voltage of 650V.






MCU Terminal and Input/ Output signal





MCU Terminal Function

Connector (CHG34-S)






MCU terminal Input/Output signal