lemon-mirror:
Home >> Kia >> 2012 >> Forte L4-2.4L >> Repair and Diagnosis >> Power and Ground Distribution >> Relay Box >> Testing and Inspection >> Relay Box (Engine Compartment)

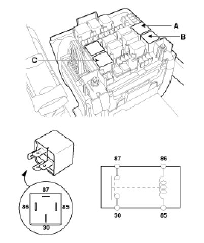
Relay Box (Engine Compartment)





Inspection

1. Disconnect the negative (-) battery terminal.
2. Pull out the relay from the engine compartment relay box.

Power Relay (Type A)
Check for continuity between the terminals.
A : Fuel pump relay
B : A/C relay
C : Head lamp relay (Low)
D : Horn relay
E : Head lamp relay (High)
F : Front fog lamp relay
1. There should be continuity between the No.30 and No.87 terminals when power and ground are connected to the No.85 and No.86 terminals.
2. There should be no continuity between the No.30 and No.87 terminals when power is disconnected.









Power Relay (Type B)
Check for continuity between the terminals.
A : Wiper relay
1. There should be continuity between the No.30 and No.87 terminals when power and ground are connected to the No.85 and No.86 terminals.
2. There should be continuity between the No.30 and No.87 terminals when power is disconnected.









Power Relay (Type C)
Check for continuity between the terminals.
A : Condenser pan relay (High)
B : Condenser pan relay (Low)
C : Start relay
1. There should be continuity between the No.30 and No.87 terminals when power and ground are connected to the No.85 and No.86 terminals.
2. There should be no continuity between the No.30 and No.87 terminals when power is disconnected.









Power Relay (Type D)
Check for continuity between the terminals.
A : Main relay
1. There should be continuity between the No.30 and No.87 terminals when power and ground are connected to the No.85 and No.86 terminals.
2. There should be continuity between the No.30 and No.87 terminals when power is disconnected.









Fuse
1. Be sure there is no play in the fuse holders, and that the fuses are held securely.
2. Are the fuse capacities for each circuit correct?
3. Are there any blown fuses?
If a fuse is to be replaced, be sure to use a new fuse of the same capacity. Always determine why the fuse blew first and completely eliminate the problem before installing a new fuse.