lemon-mirror:
Home >> Kia >> 2011 >> Sorento 2WD L4-2.4L >> Repair and Diagnosis >> Diagrams >> Electrical Diagrams >> Windows >> Power Window Control Module

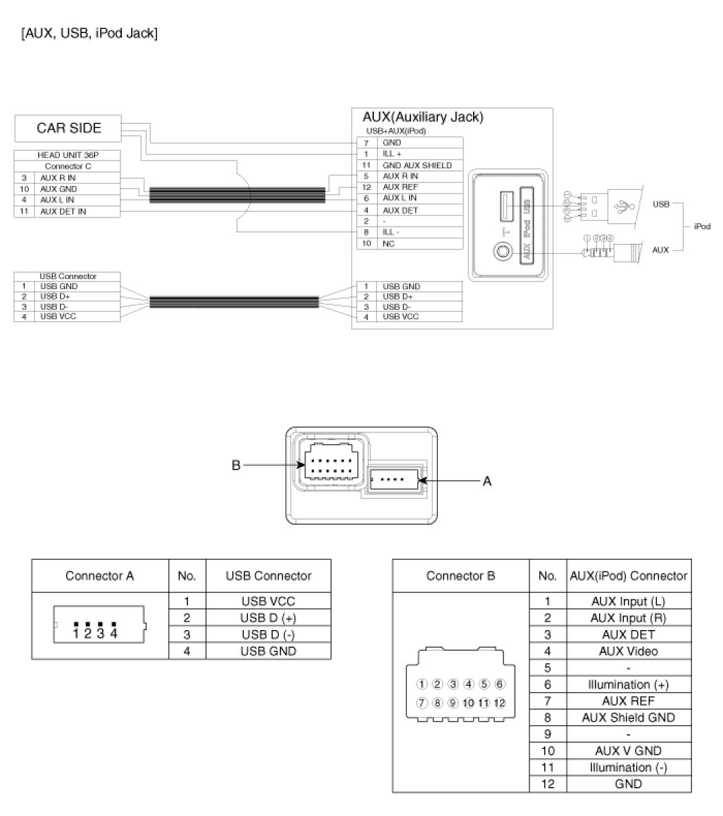
Power Window Control Module





Circuit Diagram