lemon-mirror:
Home >> Kia >> 2009 >> Sorento 2WD V6-3.3L >> Repair and Diagnosis >> Diagrams >> Connector Views >> Parking Assist Control Module

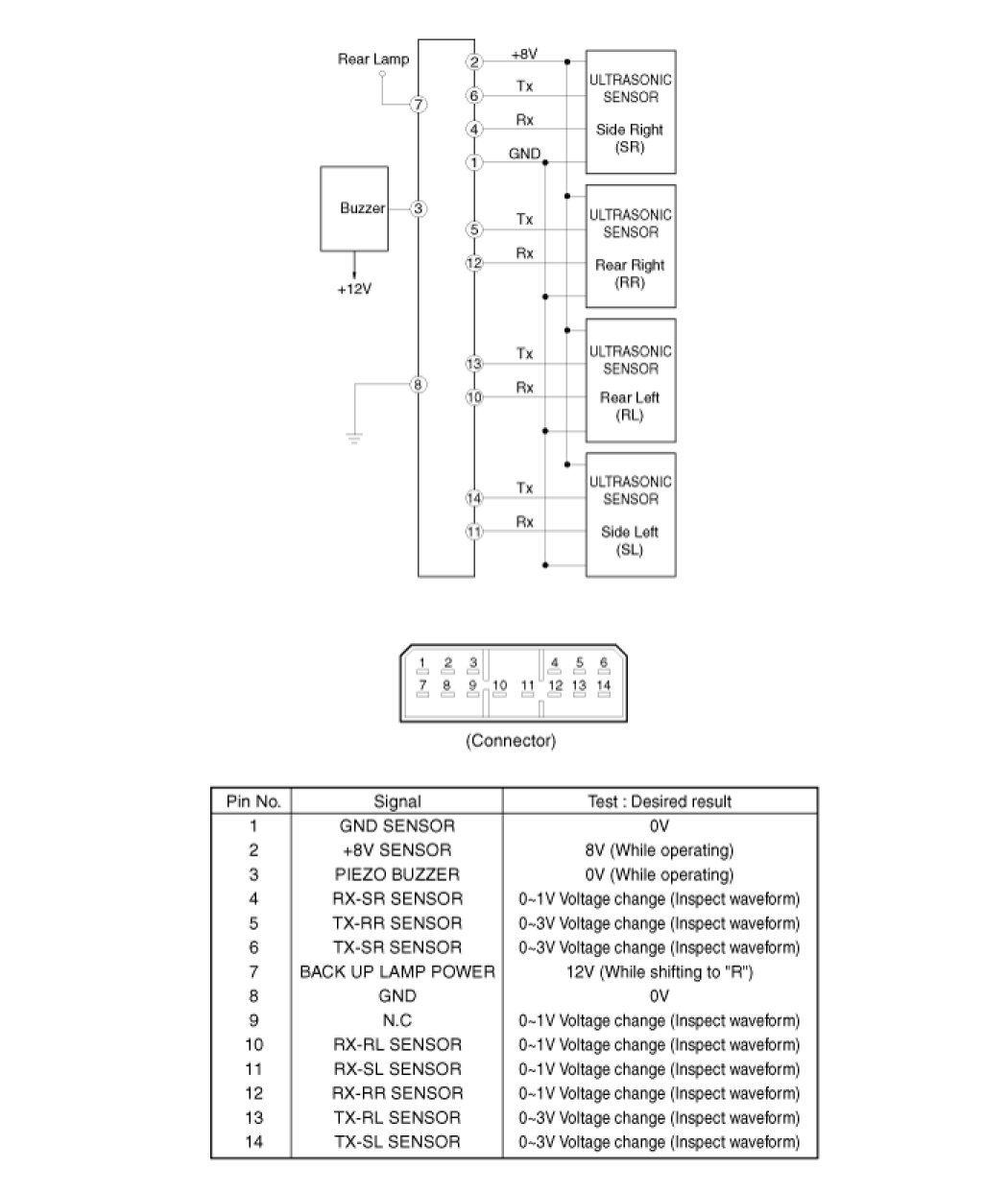
Parking Assist Control Module








CIRCUIT DIAGRAM