lemon-mirror:
Home >> Kia >> 2009 >> Amanti V6-3.8L >> Repair and Diagnosis >> Windows and Glass >> Windows >> Power Window Control Module >> Description and Operation >> Components and Components Location

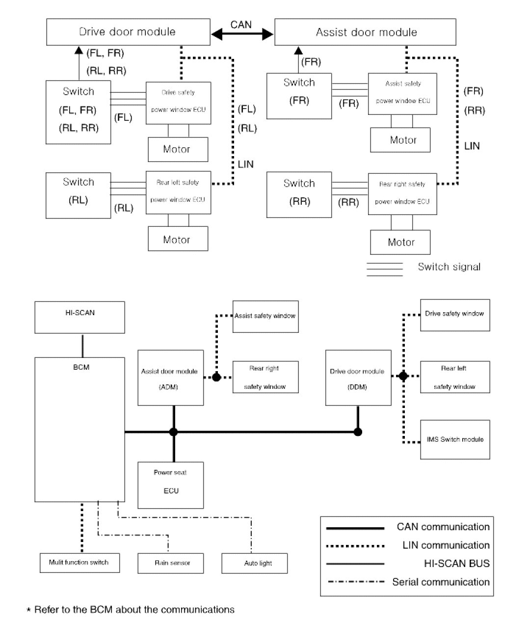
Components and Components Location






Communication block diagram