lemon-mirror:
Home >> Kia >> 2008 >> Sorento 2WD V6-3.3L >> Repair and Diagnosis >> Powertrain Management >> Computers and Control Systems >> Engine Control Module >> Testing and Inspection >> Pinout Values and Diagnostic Parameters

Pinout Values and Diagnostic Parameters





ENGINE CONTROL MODULE (ECM)

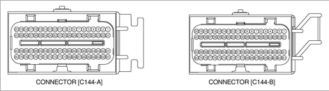
1. ECM HARNESS CONNECTOR




2. ECM TERMINAL FUNCTION
CONNECTOR [C144-A]









CONNECTOR [C144-B]









3. ECM TERMINAL INPUT/OUTPUT SIGNAL
CONNECTOR [C144-A]













CONNECTOR [C144-B]