lemon-mirror:
Home >> Kia >> 2008 >> Rondo L4-2.4L >> Repair and Diagnosis >> Heating and Air Conditioning >> Control Assembly >> Service and Repair >> Manual Controller >> Repair Procedures

Repair Procedures








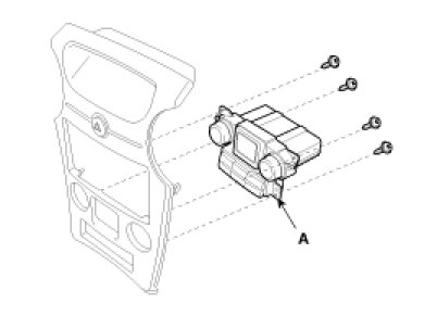
REPLACEMENT

1. Disconnect the negative (-) battery terminal.
2. After loosening the mounting screw, then remove the center facia panel (A).




3. Remove the heater & A/C controller (A) after loosening 4 screws.




4. Installation is the reverse order of removal.