lemon-mirror:
Home >> Kia >> 2007 >> Spectra L4-2.0L >> Repair and Diagnosis >> Power and Ground Distribution >> Relay Box >> Service and Repair >> Relay Box (Engine Compartment) >> Repair Procedures

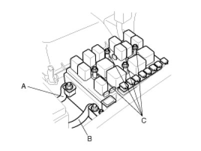
Repair Procedures











REMOVAL

1. Remove the relay box cover.
2. Remove the positive (+) battery terminal (A) and alternate L terminal (B).
3. Loosen the relay connectors mounting bolts (C).




4. Remove the relay box after removing two connectors (A).




5. Installation is the reverse of removal.