lemon-mirror:
Home >> Kia >> 2007 >> Spectra L4-2.0L >> Repair and Diagnosis >> Maintenance >> Brake Bleeding >> Service and Repair >> Bleeding of Brake System

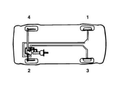
Bleeding of Brake System











BLEEDING OF BRAKE SYSTEM
This procedure should be followed to ensure adequate bleeding of air and filling of the ABS unit, brake lines and master cylinder with brake fluid.
1. Remove the reservoir cap (A) and fill the brake reservoir with brake fluid.

CAUTION:
If there is any brake fluid on any painted surface, wash it off immediately.

NOTE:
When pressure bleeding, do not depress the brake pedal.
Recommended fluid. DOT3 or DOT4




2. Connect a clear plastic tube to the wheel cylinder bleeder plug (A) and insert the other end of the tube into a half filled clear plastic bottle.




3. Connect the hi-scan (pro) to the data link connector located underneath the dash panel.




4. Select and operate according to the instructions on the hi-scan (Pro) screen.

CAUTION:
You must obey the maximum operating time of the ABS motor with the hi-scan (Pro) to prevent the motor pump from burning.

(1) Select KIA vehicle diagnosis.




(2) Select vehicle name.
(3) Select Anti-Lock Brake system.




(4) Select air bleeding mode.




(5) Press "YES" to operate motor pump and solenoid valve.




(6) Wait 60 sec. before operating the air bleeding.
(If not, you may damage the motor.)








5. Pump the brake pedal several times, and then loosen the bleeder screw until fluid starts to run out without bubbles. Then close the bleeder screw.
6. Repeat step 5 until there are no more bubbles in the fluid for each wheel.




7. Tighten the bleeder screw.

Bleed screw tightening torque:
7 - 13 Nm (70 - 130 kg-cm, 5 - 9 lb-ft)