lemon-mirror:
Home >> Kia >> 2007 >> Sorento 2WD V6-3.8L >> Repair and Diagnosis >> Powertrain Management >> Computers and Control Systems >> Engine Control Module >> Service and Repair

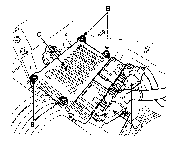
Engine Control Module: Service and Repair

REPLACEMENT
1. Turn ignition switch off.
2. Disconnect the battery (-) cable from the battery.




3. Remove the resonator (A).




4. Disconnect the ECM connectors (A).
5. Unscrew the ECM mounting bolts (B) and remove the ECM from the bracket (C).
6. Install a new ECM

ECM installation bolts : 9.8 - 11.8 N.m (1.0 - 1.2 kgf.m, 7.2. 8.7 Ibf.ft)