lemon-mirror:
Home >> Kia >> 2007 >> Rondo L4-2.4L >> Repair and Diagnosis >> Windows and Glass >> Windows >> Power Window Relay >> Testing and Inspection

Power Window Relay: Testing and Inspection

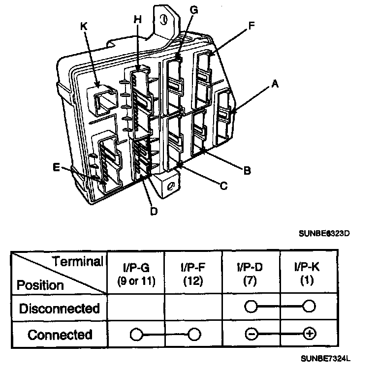
POWER WINDOW RELAY

INSPECTION
1. Disconnect the negative (-) battery terminal.
2. Remove the crash pad lower panel.
3. Remove the junction box.
4. Check for continuity between the terminals.
5. There should be continuity between the No.1 in the I/P-K and No.7 terminal in the I/P-D when power and ground are connected to the No.12 terminal in the I/P-F and N0.9 or 11 terminal in the I/P-G.




6. There should be no continuity between the No.12 terminal in the I/P-F and No.9 or 11 terminal in the I/P-G when power is disconnected.