lemon-mirror:
Home >> Kia >> 2007 >> Rondo L4-2.4L >> Repair and Diagnosis >> Powertrain Management >> Ignition System >> Ignition Coil >> Service and Repair

Ignition Coil: Service and Repair

IGNITION COIL

REMOVAL
1. Remove the engine cover.




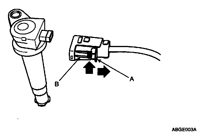
2. Remove the ignition coil (A).






NOTE: When removing the ignition coil connector, pull the lock pin(A) and push the clip(B).

3. Installation is the reverse of removal.