lemon-mirror:
Home >> Kia >> 2007 >> Amanti V6-3.8L >> Repair and Diagnosis >> Powertrain Management >> Ignition System >> Spark Plug >> Testing and Inspection

Spark Plug: Testing and Inspection

INSPECT SPARK PLUG




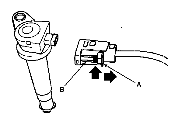
1. Remove the ignition coil connector(A).






NOTE: When removing the ignition coil connector, pull the lock pin (A) and push the clip (B).

2. Remove the ignition coil(B).
3. Using a spark plug socket, remove the spark plug.

CAUTION: Be careful that no contaminates enter through the spark plug holes.




Inspection Of Electrodes:




4. Inspect the electrodes (A) and ceramic insulator (B).




5. Check the electrode gap (A).

Standard :
1.0 - 1.1 mm (0.0394 - 0.0433 in) - Unleaded
0.8 - 0.9 mm (0.0315 - 0.0354 in) - Leaded