lemon-mirror:
Home >> Kia >> 2006 >> Spectra L4-2.0L >> Repair and Diagnosis >> Powertrain Management >> Computers and Control Systems >> Vehicle Speed Sensor >> Testing and Inspection

Vehicle Speed Sensor: Testing and Inspection

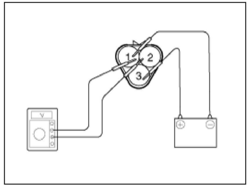
VEHICLE SPEED SENSOR
1. Connect the positive (+) lead from battery to terminal 3 and negative (-) lead to terminal 1.
2. Connect the positive (+) lead from tester to terminal 2 and the negative (-) lead to terminal 1.
3. Rotate the shaft.
4. Check that there is voltage change from approx. 0 V to 11 V or more between terminals 1 and 2.




5. The voltage change should be 4 times for every revolution of the speed sensor shaft. If operation is not as specified, replace the sensor.