lemon-mirror:
Home >> Kia >> 2006 >> Sedona V6-3.8L >> Repair and Diagnosis >> Powertrain Management >> Computers and Control Systems >> Body Control Module >> Description and Operation >> Functions >> Functions (Part 1)

Functions (Part 1)

FUNCTIONS (PART 1)

EXTERIOR LIGHTING FUNCTIONS
The exterior lighting function has to provide the lighting and signalling of the vehicle; It monitors different available lights in front or at the back of the vehicle:
- Park and Tail lamps (with Side marker lamps),
- License plate lamps,
- Head lamps Low Beam,
- Head lamps High Beam,
- Front and Rear fog lamps (with the Rear fog lamp switch indicator),
- Stop lamps,
- Backup lamps,
- Turn signal and side repeater lamps.

PARK/TAIL LAMPS FUNCTION
1. Necessary conditions to switch ON :
- By putting the Head lamp switch in position 'Park and Tail lamp' or 'Head lamp Low Beam' or Auto light activation or DRL activation

2. Necessary conditions to switch OFF :
- If they are released by the Head lamp switch (Auto light function deactivated) and if DRL function IS deactivated
- If the Auto light function is active but the Auto light Sensor signal status is OFF or Battery Saver function is active.




3. Functional diagram

HEAD LAMPS LOW BEAM FUNCTION
1. Necessary conditions to switch ON :
- By putting the Head lamp switch in position 'Head lamp Low Beam' or Auto light activation or DRL activation.

2. Necessary conditions to switch OFF :
- If they are released by the Head lamp switch (Auto light function deactivated) and if the DRL function is deactivated
- If the Auto light function is active but the Auto light sensor signal status is not 'HL ON'.




3. Functional diagram

HEAD LAMPS HIGH BEAM FUNCTION
1. Necessary conditions to switch ON :
- By pushing down the High Beam lever switch if
- the Head lamp switch is in position 'Head lamp Low Beam' or the Head lamps Low Beam have been turned ON by the Auto light function.

- By pulling the High Beam lever switch toward the driver (Flash to pass activation)
- By the DRL function activation for Canada.

2. Necessary conditions to switch OFF :
- By pulling back the High Beam lever switch (manual reset by the driver) or
- If the Head lamps Low Beam are turned OFF or if the Auto light function is active but the Auto light Sensor signal status is not 'HL ON') or
- By releasing the Flash To Pass activation and
- If the DRL function is deactivated for Canada.




3. Functional diagram

TURN SIGNAL AND SIDE REPEATER LAMPS FUNCTION
1. Necessary conditions to switch ON (if they are standard) :
- By activation of Crash Unlock
- During the opening / closing of the Tail gate by the PTG Flasher input
- With the Remote Keyless Entry to lock / unlock the vehicle
- By alarm activation
- By panic activation with the Remote Keyless Entry
- By activation of the Hazard Lamp by the hazard switch and ignition is position OFF, ACC or RUN
- By using the turn lever switch with the ignition switch in the ON position.

2. Necessary conditions to switch OFF (if they are standard) :
- Ignition switch in OFF position for deactivation of crash unlock flashing
- Deactivation of the alarm or at the end of the alarm flashing sequence
- Deactivation of panic sequence with pushing any button of the Remote Keyless Entry or at the end of the panic flashing sequence
- Turn lever switch command in OFF position or ignition switch in OFF, ACC or START position to stop turn lever flashing.
- The hazard switch in OFF position or ignition switch in position START to stop the Hazard flashing.
- At the end of the Lock, Unlock and PTG flashing sequence.

3. During the start up of the vehicle (ignition key in position START):
- The Turn signal lamps activated by the turn lever switch are temporarily turned OFF. If the time duration in Start position is more than 10 seconds and engine running, the Turn signal lamps are managed again as if the ignition key was in ON position,
- The flashing sequence of the hazard lamps is immediately stopped if they have been activated by the hazard button. If the time duration in Start position is more than 10 seconds and engine running, the flashing sequence of the hazard lamps are managed again as if the ignition key was in RUN position,
- The flashing sequence of the hazard lamps is not stopped if they have been activated by a crash unlock.




4. Functional Diagram

FRONT FOG LAMPS FUNCTION
1. Necessary conditions to switch ON :
- By using the stalk: Head lamp switch in position 'Head lamp Low Beam' and Front Fog lamp sw ON
- When Auto light function activated and Auto light Sensor signal status is 'HL ON' and Front Fog lamp sw ON

2. Necessary conditions to switch OFF :
- When Auto light function activated and Auto light Sensor signal status is not ON
- When Front fog lamp sw OFF.










3. Functional Diagram

BACKUP LAMPS FUNCTION
1. Necessary conditions to switch ON :
- When inhibit sw 'R' read by FAM is active and transmitted to RAM by CAN signal.

2. Necessary conditions to switch OFF :
- When inhibit sw 'R' read by FAM is not active and transmitted to RAM by CAN signal.




3. Functional diagram

STOP LAMPS FUNCTION
1. Necessary conditions to switch ON the stop lamps:
- Pushing on the brake pedal.

2. Necessary conditions to switch OFF the stop lamps:
- Releasing the brake pedal.




3. Functional diagram

AUTO LIGHT FUNCTION
1. The Auto light function is active when the Head lamp switch is positioned to 'Auto' and the Key is in RUN position.
The auto light sensor is powered on the status ACC, START and RUN of the key position. Based on the Auto light sensor values corresponding to the exterior brightness level, it controls automatically the lighting of the Park and tail lamps or / and the Head lamps Low Beam depending on the country.




2. Auto light Sensor detection table

DRL FUNCTION
1. The Auto DRL function operates the Head lamps High Beam at 50% of full illumination. The park and tail are managed by the auto light sensor.

The Auto DRL function is active if:
- The ignition switch is on RUN position
- The engine is running.
- The Park brake switch is OFF.

2. The DRL function is inactive when one of above conditions is released.

When the DRL function is active, the Head lamps High Beam can't be turned ON, except for the Flash To Pass activation.




3. Functional diagram

BATTERY SAVER FUNCTION
1. Necessary conditions to activate the Battery Saver function:
- Do not turn off the Park/Tail Lamp when intentionally turned on.
- If Key reminder switch is ON and Park/Tail Lamp switch is ON, Intentional "ON" should be reset
- If the driver's door is open and if the key is not in the key hole whereas the Head lamp switch is still in position 'Park and tail lamp' or 'Head lamp Low Beam', the park and tail lamps (and the Front fog lamps if turned on) are immediately turned off.




2. Necessary conditions to cancel the Battery Saver function:
- As soon as the Key is input into the IGN Key Cylinder or the Head lamp switch is put to position OFF.




3. Functional diagram

ESCORT FUNCTION
1. If the head lamps low beam are turned on by head lamps low beam switch or by auto light switch when the ignition switch is turned from the ON to ACC or OFF positions.

2. The head lamps low beam are turned off:
- 30 s after the driver door is closed
- When the multifunction switch is not in position headlamps turned on or auto/light
- 20 mn after the driver door is open
- 20 mn after IGN leaves the positions RUN to ACC or OFF
- If IPM receives RKE "LOCK command two times

3. Escort function enables only "Head Lamp Low Beam", so Park/Tail lamp should be turned off when driver door is opened at key out (Battery Saver function).




4. Functional Diagrams

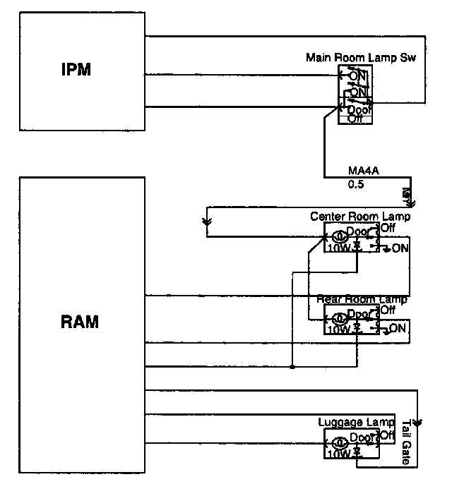
INTERIOR LIGHTING FUNCTIONS

ROOM LAMPS
1. The room lamps are can be controlled manually using the 3-state (ON, DOOR, OFF) switch or by the Rear Area Module (RAM). A main switch, located to the left of the steering wheel, is used as a master control switch. The operating logic of the lamps will vary based on the position of the main switch ON, DOOR, or OFF).

2. Working conditions
- The functioning depends on the key position in the key cylinder (OFF, ACC, RUN or START)
- When the key goes in RUN or START position while the room lamps are decaying, then the room lamps are turned off immediately.
- When the Ignition key position is RUN or START and the last door is closed then the room lamps are OFF.
- If the room lamps have been activated using the RKE UNLOCK function, and the ignition switch is turned to the RUN or START position, the room lamps will be immediately turned OFF.
- If the Ignition sw status is in RUN or START and Unlock information occurs, then the room lamp status is not changed.
- When the system enters to ARM WAIT mode by Remote Key or Mechanical cylinder lock switches the Room lamp should be turned off immediately.
- If there is RKE Lock signal at any door open, all doors should be locked first and wait for the all door close. No action is taken while the Open Door status is OPEN and the doors are locked. Then when Open Door status changes from OPEN to CLOSE, Room lamps will be OFF immediately.
- The 30 sec timer does not depend on the key reminder status.
- If the main switch is changed to ON from DOOR after 20 minute lamp OFF, all the lamps are turned ON.
- If the Open Door status changes from OPEN to CLOSE (all doors close) when ignition switch is on RUN position, room lamps and door courtesy lamps should turn off immediately (Do not decay off).
- After 20 minute Room Lamp OFF at door open, Room lamps are turned ON again when:
- One of the door open switch's status changes. (Open to Close or Close to Open)
- Ignition key is in RUN or START Position. Receiving an UNLOCK event while a door is open and Main Room Lamp Switch is in the DOOR position.

- For the room lamps, when the 20 m timer is running and any of the side doors is opened the timer is restarted.




3. Functional Diagram




4. Truth table

MAP LAMP
1. The map lamps may be controlled manually or by the Rear Area Module (RAM).




2. Functional Diagram




3. Truth table

LUGGAGE LAMP
1. Working Conditions
- The 20 min timer does not depend on the key reminder status.
- After 20 minutes Luggage Lamp OFF at tailgate open, luggage lamps are turned ON again when:
- Tailgate close and then tailgate is opened again.
- Ignition key is in RUN or START position.




2. Truth table

DOOR COURTESY LAMPS
1. Working Conditions
- When driver or assistant door is open the associated door courtesy lamp is turned ON immediately.
- When driver door is closed the door courtesy lamp is decaying during 5 ± 0.5 seconds with resolution of more than 32 steps. The ADM and DDM modules manage this decay.
- If ignition key goes to RUN or START position during decaying, the RAM module sends CAN variable with OFF value to ADM(DDM) module and the assist courtesy lamp (Driver courtesy lamp) is turned off immediately.
- If the status of driver door (assist door) changes from OPEN to CLOSE when ignition switch is RUN position, Driver courtesy lamp should turn off immediately.
- If ignition switch is OFF or ACC and the driver door is open, there is a timer of 20 min after which the driver courtesy lamp is turned OFF.




2. Functional Diagram




3. Truth table

KEY HOLE ILLUMINATION
1. Working Conditions The key cylinder is illuminated when the driver and / or the assist door are open.
2. Key hole extinguish conditions:
- The key cylinder is turned off 10s after the driver and assist doors are closed.
- The key cylinder is turned off immediately if the key is inserted in the hole and put to RUN or START position.
- For vehicles equipped with Burglar Alarm, the key cylinder is turned off immediately when the system goes to ARM WAIT mode during the 10 s after the driver and assist doors are closed.
- For vehicles not equipped with Burglar Alarm, the key cylinder is turned off immediately when RKE lock signal is received from keyfob during the 10 s after the driver and assist doors are closed (4).




3. Functional Diagram

PANEL LIGHTS, SWITCH ILLUMINATION
1. Working Conditions
The MF "high beam" and "flash to pass" switches do not influence the management of the Panel Lights and Trip Computer illumination, Rear Blower illumination and Rear Monitor illumination.




2. Functional Diagram

DIMMABLE BACKLIGHTING
1. Working Conditions
The Dimmable backlighting is directly managed by the rheostat.

POWER SEAT SWITCH ILLUMINATION
1. Working Conditions
The IPM sends a CAN message to the DDM so that this module illuminate the power seat switches.




2. Functional Diagram

VIEW ENHANCEMENT FUNCTION

FRONT WIPER AND WASHER
1. Front wiper working conditions
These functions are active when lgn2 switch ON In the OFF and ACC states, the front wiper is not activated. If IGN2 turns OFF during wiper operation, the wiper stops at the current position and will move to the park position on the next IGN2 ON. In these states. the front washer is not active.

2. Front washer working condition
The front washer functionality is directly available the driver. It consists in activating the front washer pump, which is located under hood. As long as the driver activates the washer multifunction switch, the front washer is active.




3. Functional diagram

REAR WIPER AND WASHER
1. Rear wiper working conditions
- The rear wiper is available in RUN state.
- In the START state, all the wiper and washer outputs are halted and then activated again.
- In the OFF and ACC states, the rear wiper stops its movement at current position. The rear wiper will move to the park position at the next IGN ON. In these states, the rear washer is not activated.




2. Rear washer working condition
- If the washer signal is active less than 60 ms, the signal is neglected.
- If the washer signal is active for T1 (between 60 ms and 300 ms), the rear wiper output is turned on for T2 (2.5 - 3.8 sec.), T3 (300 ms) after the washer has been turned ON. Rear washer activated for T1 : [60 ms;300 ms]




3. Functional diagram

REAR WIPER AND WASHER
1. Rear wiper working conditions
- The rear wiper is available in RUN state.
- In the START state, all the wiper and washer outputs are halted and then activated again.
- In the OFF and ACC states, the rear wiper stops its movement at current position. The rear wiper will move to the park position at the next IGN ON. In these states, the rear washer is not activated.




2. Rear washer working condition
- If the washer signal is active less than 60 ms, the signal is neglected.
- If the washer signal is active for T1 (between 60 ms and 300 ms), the rear wiper output is turned on for T2 (2.5-3.8 sec.), T3 (300 ms) after the washer has been turned ON.
Rear washer activated for T1 : [60 ms;300 ms]




3. Functional diagram

DEFOG
This function controls the heating defog grids on windshield, rear glass, and rear view mirrors.

1. Working Conditions
The defog function can be activated only when engine is running and ignition key is in RUN position.
- When windshield defog switch is pushed, windshield defog is activated for 20 minutes.
- While windshield defog is on, the windshield defog button is illuminated
- If the switch is pushed again while defog is already active, defog stops.
- If the engine stops while defog is on, defog stops and it is NOT automatically turned on when the engine is started again
- Rear defog works exactly in the same way as windshield defog using the rear defog switch button as input.
- When rear defog is active, rear defog switch indicator is ON.
- Rear defog ctrl output controls rear glass defog as well as rear view mirrors defog.




2. Rear defog pause
- When IPM receives Tailgate Flasher CAN message, rear defog is inhibited for 30 s
- The 20 min rear defog timer is frozen during this pause.
- If the user turns on rear defog function while this pause is going on, Rear defog ctrl is set to ON only at the end of the pause.
- This pause has no impact on rear defog switch illumination.
- When IPM receives Tailgate open CAN message transItion to OPEN value, this 30 s rear defog pause is also started, it works the same way as described.




3. Functional Diagram

COMFORT FUNCTION

POWER WINDOWS
1. The purpose of the power window function is to manage the driver and assist power window motors. This function is entirely implemented in the DDM and ADM (door modules) and DMS role for this function is limited to providing signals through the CAN bus.

POWER SEAT WITH MEMORY INTERFACE
This function manages the power seat and the associated memorized positions. This function is entirely implemented in the IMS (seat module) and DMS role for this function is limited to providing signals through the CAN bus.