lemon-mirror:
Home >> Kia >> 2006 >> Optima L4-2.4L VIN 6 >> Repair and Diagnosis >> Power and Ground Distribution >> Timer/Control Unit >> Testing and Inspection >> ETACS Function

ETACS Function

OPERATION CHECK OF COMPONENTS

While operating the components, check whether the operations are normal with timing chart.

ETACS FUNCTION




1. Variable intermittent wiper
Time specification
T1 : Max. 0.3 sec.
T2 : Time of wiper motor 1 rotation (0.6 - 0.8 sec.).
T3 : 2.2 ± 0.2 sec. (VR = 0 k Ohm) - 10.0 ± 1.0 sec. (VR = 50 k Ohm)

2. Washer related wiper
1. Time specification
T1 : 0.6 sec.
T2 : 2.5 - 3.8 sec.




2. This function should be operated preferentially even though the variable intermittent wiper is operating.




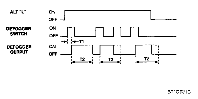
3. Rear window defogger
Time specification
T1 : 60 msec.
T2 : 20 ± 1 Min.




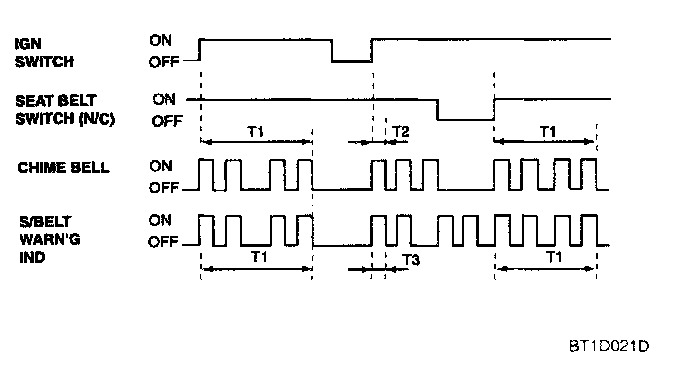
4. seat belt warning
Time specification
T1 : 6 ± 1 sec.
T2 : 0.45 ± 0.1 sec.
T3 : 0.3 ± 0.1 sec.




5. Ignition key hole illumination
Time specification
T1 : 10 ± 1.0 sec.
T2 : 0 - 10 sec.




6. Delayed out room lamp
Time specification
T1 : 5.5 ± 0.5 sec.




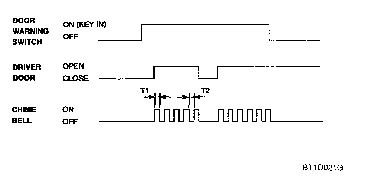
7. Key operated warning
Time specification
T1, T2 : 0.45 ± 0.1 sec




8. Ignition key reminder
Time specification
T1 : 0.5 sec.
T2 : 0 - 0.5 sec.




9. Outside door key illumination (without burglar alarm)
Time specification
T1 : 10 ± 1.0 sec.




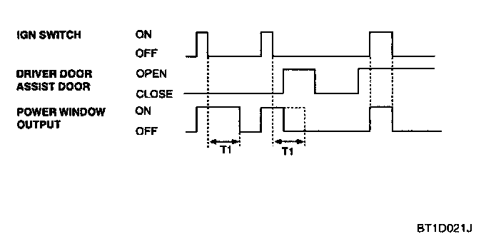
10. Power window timer
Time specification
T1 :30 ± 5 sec.




11. Central door lock/unlock (without burglar alarm)
Time specification
T : 0.5 ± 0.1 sec.

12. Central door lock/unlock (with burglar alarm)




1. When using the door key
Time specification
T : 0.5 ± 0.1 sec.




2. When using the door lock knob switch
Time specification
T : 0.5 ± 0.1 sec.




3. When using the transmitter (TX)
Time specification
T : 0.5 ± 0.1 sec.




4. Power window main door lock switch
Time specification
T : 0.5 ± 0.1 sec.




13. Tail lamp auto cut




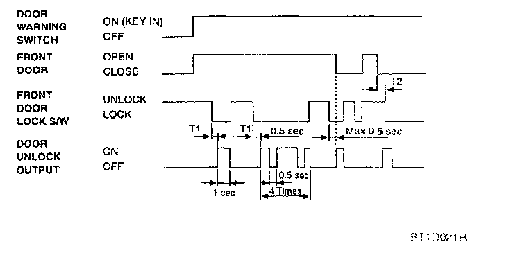
14. Two-Turn unlock
Time specification
T1 : 3 ± 0.5 sec.