lemon-mirror:
Home >> Kia >> 2006 >> Optima L4-2.4L VIN 6 >> Repair and Diagnosis >> Power and Ground Distribution >> Timer/Control Unit >> Testing and Inspection >> Anti-Theft Function

Anti-Theft Function

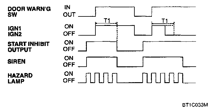
ANTI-THEFT FUNCTION




1. Arm function
Time specification
T1: 0.5 sec.
T2: 1.0 ± 0.1 sec.
T3: Max 0.6 sec.




2. Disarm function
Time specification
T1: 0.5 sec.
T2: 1 ± 0.1 sec.
T3: 30 sec.

3. Alarm function




1. Time specification
T1: 27 - 30 sec.
T2: 10 - 13 sec.
T3: 0.5 ± 0.1 sec.




2. Battery is separated during the alarm state




3. New alarm occurs during the alarm state




4. TX trunk open button pressed during the alarm state.
Time specification
T1 : 0.5 sec.




5. TX unlock button pressed during the alarm state
Time specification
T1 : 0.5 sec.




6. TX lock button pressed when the door closed during the alarm state
Time specification
T1 : 0.5 sec.
T2 : 1.0 ± 0.1 sec.




TX lock button pressed when the door opened during the alarm state
Time specification
T1 : 0.5 sec.
T2 : 1.0 ± 0.1 sec.




7. New alarm occurs when all doors closed & lock after the alarm state
Time specification
T1: 27 - 30 sec.
T2: 10 - 13 sec.
T3: 0.5 ± 0.1 sec.




8. New alarm occurs when some doors opened after alarm state
Time specification
T1: 27 - 30 sec.
T2: 10 - 13 sec.
T3: 0.5 ± 0.1 sec.




9. In case of using the door key.
T1 : 2 sec.

4. Alarm cancel




1. Time specification
T1 : 30 sec.




5. Panic
1. Time specification
T1 : 200 msec.
T2 : 27 ± 2 sec.
T3 : 0.5 ± 0.1 sec.