lemon-mirror:
Home >> Kia >> 2006 >> Optima L4-2.4L VIN 3 >> Repair and Diagnosis >> Powertrain Management >> Ignition System >> Spark Plug >> Service and Repair

Spark Plug: Service and Repair

INSPECT SPARK PLUG




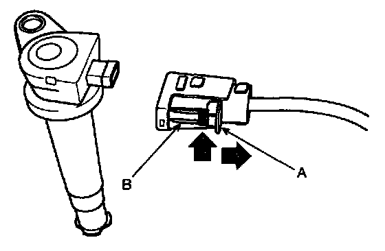
1. Remove the ignition coil connector(A).




2. Remove the ignition coil (A).






NOTE: When removing the ignition coil connector, pull the lock pin (A) and push the clip (B).

3. Using a spark plug socket, remove the spark plug.

CAUTION: Be careful that no contaminates enter through the spark plug holes.




Inspection Of Electrodes:




4. Inspect the electrodes (A) and ceramic insulator (B).




5. Check the electrode gap (A).

Standard : 1.0 - 1.1 mm (0.0394 - 0.0433 in.)