lemon-mirror:
Home >> Kia >> 2006 >> Optima L4-2.4L VIN 3 >> Repair and Diagnosis >> Powertrain Management >> Computers and Control Systems >> Relays and Modules - Computers and Control Systems >> Body Control Module >> Service and Repair

Body Control Module: Service and Repair

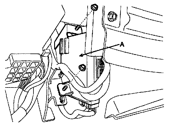
BODY CONTROL MODULE

REPLACEMENT
1. Disconnect the negative (-) battery terminal.
2. Remove the crash pad lower panel.




3. Remove the keyless antenna cable and body control module (A) after loosening 2 nuts.
4. Installation is the reverse of removal.