lemon-mirror:
Home >> Kia >> 2006 >> Amanti V6-3.5L >> Repair and Diagnosis >> Body and Frame >> Body Control Systems >> Body Control Module >> Testing and Inspection >> Component Tests and General Diagnostics

Component Tests and General Diagnostics

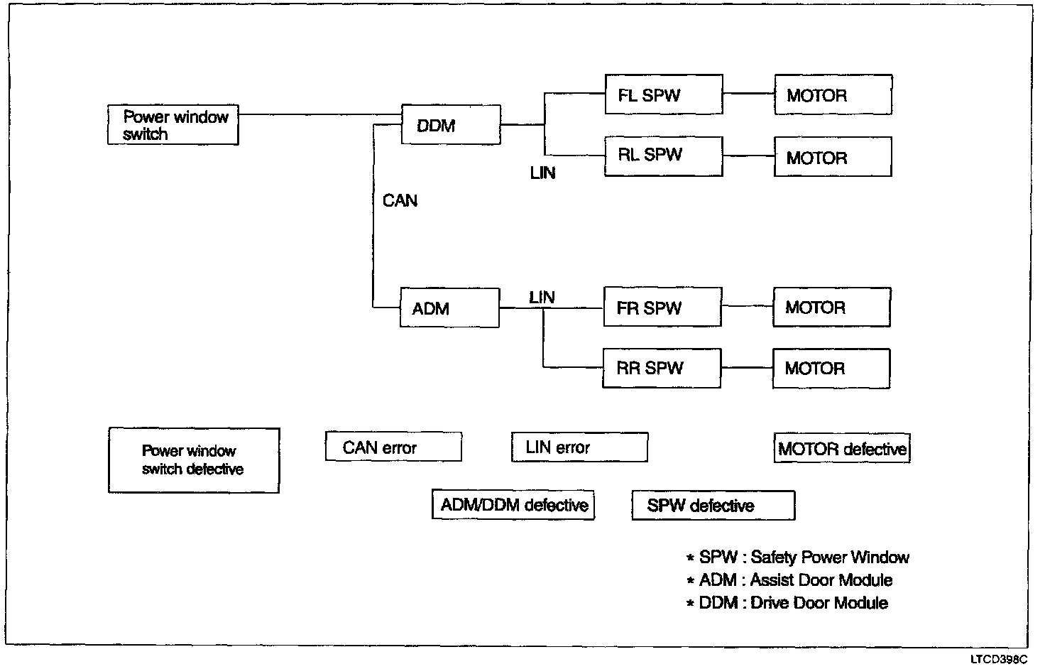
FAILURE DIAGNOSIS




when the power window switch cannot raise the power window.