lemon-mirror:
Home >> Kia >> 2004 >> Spectra L4-2.0L >> Repair and Diagnosis >> Heating and Air Conditioning >> Control Assembly >> Description and Operation

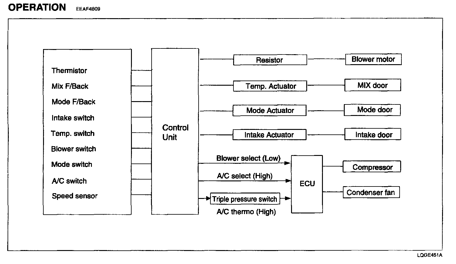
Control Assembly: Description and Operation

Heating, Ventilation And Air Conditioning - Operation: