lemon-mirror:
Home >> Kia >> 2004 >> Amanti V6-3.5L >> Repair and Diagnosis >> Powertrain Management >> Computers and Control Systems >> Fuel Level Sensor >> Testing and Inspection >> Sensor Inspection

Sensor Inspection

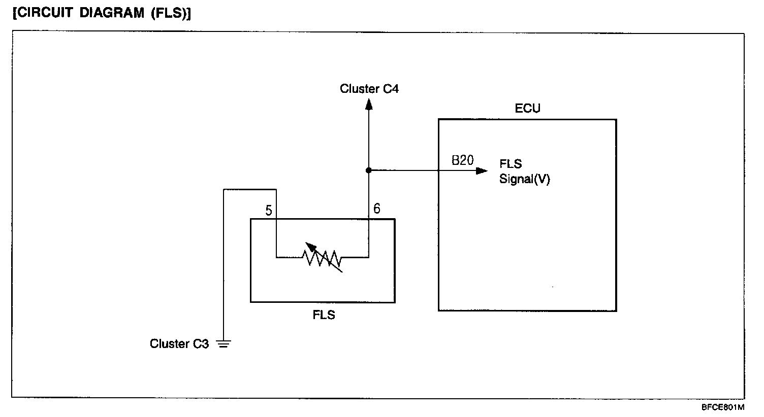
FUEL LEVEL SENSOR (FLS)




Fuel Level Sensor (FLS) is involved in Fuel Pump Assembly. It sensors the remained fuel volume and transfers the signal to ECU and Cluster by using a variable resistor.

Circuit Diagram (FLS):






Harness Connector:






[SENSOR INSPECTION (FLS)]




1. Remove Fuel Pump Assembly from Fuel Tank.
2. Measure the resistance from "FULL" to "EMPTY"

Sensor Characteristic:




3. Replace or repair the Fuel Level Sensor if the measured resistance is out of range (Refer to Table SENSOR CHARACTERISTIC").


Harness Inspection Procedures (FLS) Part 1:




Harness Inspection Procedures (FLS) Part 2: