lemon-mirror:
Home >> Kia >> 2004 >> Amanti V6-3.5L >> Repair and Diagnosis >> Heating and Air Conditioning >> Humidity Sensor >> Testing and Inspection

Humidity Sensor: Testing and Inspection

INSPECTION




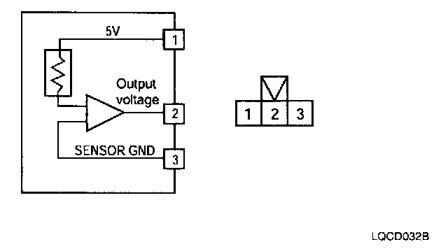
1. Humidity sensor is located at rear hat shelf and detected in-car humidity for in-car humidity control.




Sensor Output:







2. If ambient air temperature or in-car humidity is outside certain range, it will turn on A/C to control in-car humidity preventing in-car fogging.
Air conditioner operation depending on ambient temperature and humidity.