lemon-mirror:
Home >> Kia >> 2003 >> Spectra L4-1.8L >> Repair and Diagnosis >> Heating and Air Conditioning >> System Relay >> Testing and Inspection

System Relay: Testing and Inspection

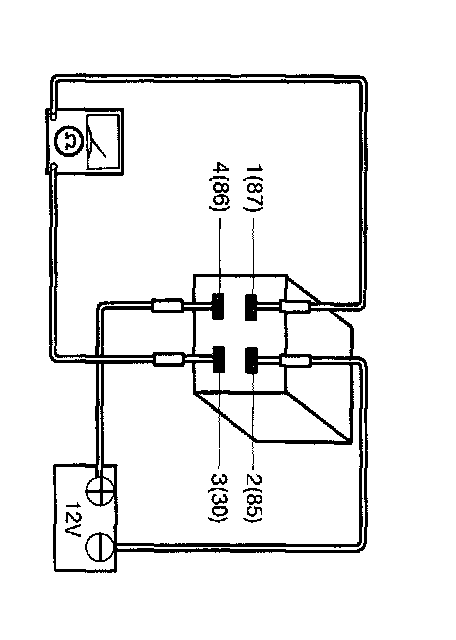
A/C relay

Inspection




1. Disconnect A/C relay connector.
2. Apply 12 V to terminal 2 and ground terminal 4.




3. Check for continuity between terminals 1 and 3.




4. If not as specified, replace relay.