lemon-mirror:
Home >> Kia >> 2002 >> Sedona EX V6-3.5L >> Repair and Diagnosis >> Diagrams >> Connector Views >> Timer/Control Unit, Accessory Control

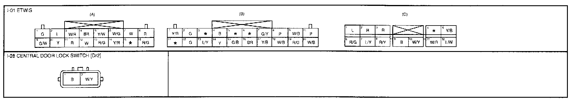
Timer/Control Unit, Accessory Control

I-1a - ETWIS, Rear Room Lamp, Cargo Room Lamp Connectors:



I-1b - ETWIS, Keyless Entry System Connectors:



I-1c - ETWIS Connectors:



ETACS Terminal Configuration: