lemon-mirror:
Home >> Kia >> 2002 >> Rio L4-1.5L >> Repair and Diagnosis >> Specifications >> Electrical Specifications >> Alternator

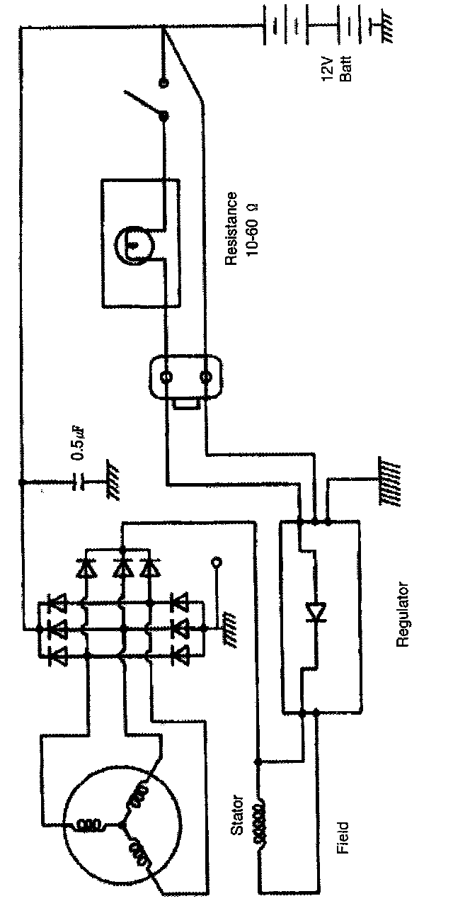
Alternator

Specifications:



Circuit Diagram: