lemon-mirror:
Home >> Jeep >> 2012 >> Compass 2WD L4-2.4L >> Repair and Diagnosis >> Brakes and Traction Control >> Disc Brake System >> Brake Pad >> Specifications

Brake Pad: Specifications






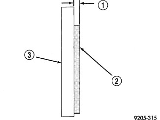
BRAKE PAD










Measure brake pad minimum thickness (1). Brake pads must be replaced when usable material on a brake pad lining (2) measured at its thinnest point measures one millimeter (0.04 inches) or less.