lemon-mirror:
Home >> Jeep >> 2007 >> Commander 2WD V8-5.7L VIN 2 >> Repair and Diagnosis >> Powertrain Management >> Computers and Control Systems >> Oxygen Sensor >> Locations

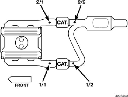
Oxygen Sensor: Locations

Federal Emission Packages :

Two sensors are used: upstream (referred to as 1/1) and downstream (referred to as 1/2).






Refer to graphic for typical O2S (oxygen sensor) locations if equipped with two oxygen sensors.

The upstream sensor (1/1) is located just before the main catalytic convertor.

The downstream sensor (1/2) is located just after the main catalytic convertor.

California Emission Packages:

4 sensors are used: 2 upstream (referred to as 1/1 and 2/1) and 2 downstream (referred to as 1/2 and 2/2).






Refer to graphic for typical O2S (oxygen sensor) locations if equipped with four oxygen sensors.

The right upstream sensor (2/1) is located in the right exhaust downpipe just before the mini-catalytic convertor.

The left upstream sensor (1/1) is located in the left exhaust downpipe just before the mini-catalytic convertor.

The right downstream sensor (2/2) is located in the right exhaust downpipe just after the mini-catalytic convertor, and before the main catalytic convertor.

The left downstream sensor (1/2) is located in the left exhaust downpipe just after the mini-catalytic convertor, and before the main catalytic convertor.