lemon-mirror:
Home >> Jaguar >> 1982 >> XJ-S V12-5.3L >> Repair and Diagnosis >> Powertrain Management >> Computers and Control Systems >> Vehicle Speed Sensor >> Service and Repair

Vehicle Speed Sensor: Service and Repair

SPEED SENSOR

Fig 1:




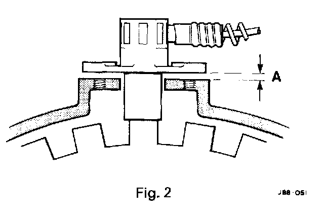
Fig 2:





RENEW

Drive the vehicle on to a ramp. Open the boot. Remove the spare wheel for access.
Remove the LH boot liner.
Disconnect the speed sensor multi plug, located under the LH rear wing (black PMHD).
Displace the harness and body grommet.
Reposition the harness from the boot into the axle area.
Raise the ramp.
Remove the sensor from the final drive backplate (1 Fig. 1).
Displace and remove the sensor/harness assembly.
Displace and remove the shims from the sensor.
Clean the backplate face.

Remove the protection cap from the new sensor.
Displace and remove the '0' ring.
Position the car on the ramp to align one rotor tooth directly in front of the sensor mounting hole.
Fit the sensor to the backplate, ensuring that the sensor bottoms onto the rotor tooth.
Measure and note the gap (A Fig. 2) between the sensor securing flange and the backplate.
Remove the sensor. Fit a new O ring. Fit and align the correct size/number of shims to the sensor to give 0.010-0.020 in clearance between the sensor and the rotor teeth.

Fit the sensor assembly to the backplate. Fit and tighten the securing bolts.
Reposition the harness into the boot area.
Seat the body grommet.
Lower the ramp.
Position the harness and reconnect the multi plug.
Fit the liner and spare wheel. Close the boot.


DATA
Sensor Air Gap - 0.010 - 0.020 in