lemon-mirror:
Home >> Isuzu >> 2007 >> i-370 2WD L5-3.7L >> Repair and Diagnosis >> Specifications >> Mechanical Specifications >> Engine >> System Specifications >> Service Limits & General Specifications >> Thread Repair Specifications

Thread Repair Specifications



Thread Repair Specifications

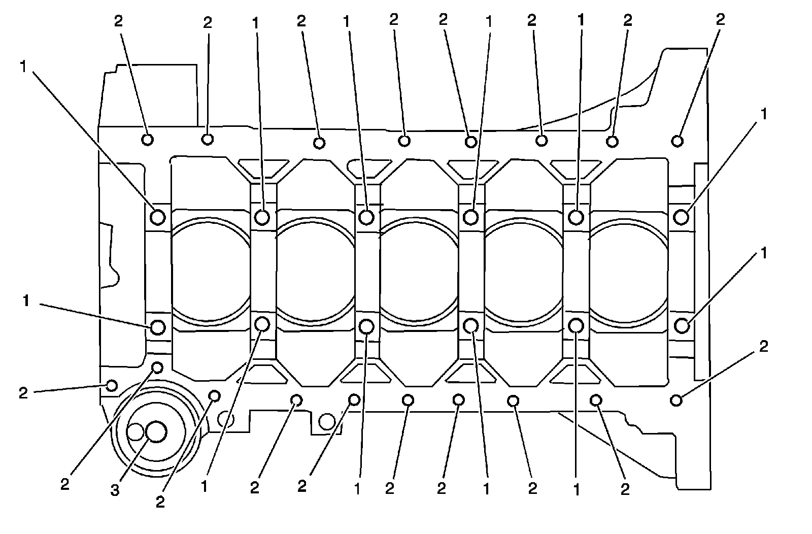
Engine Block - Top View:




Engine Block - Top View:




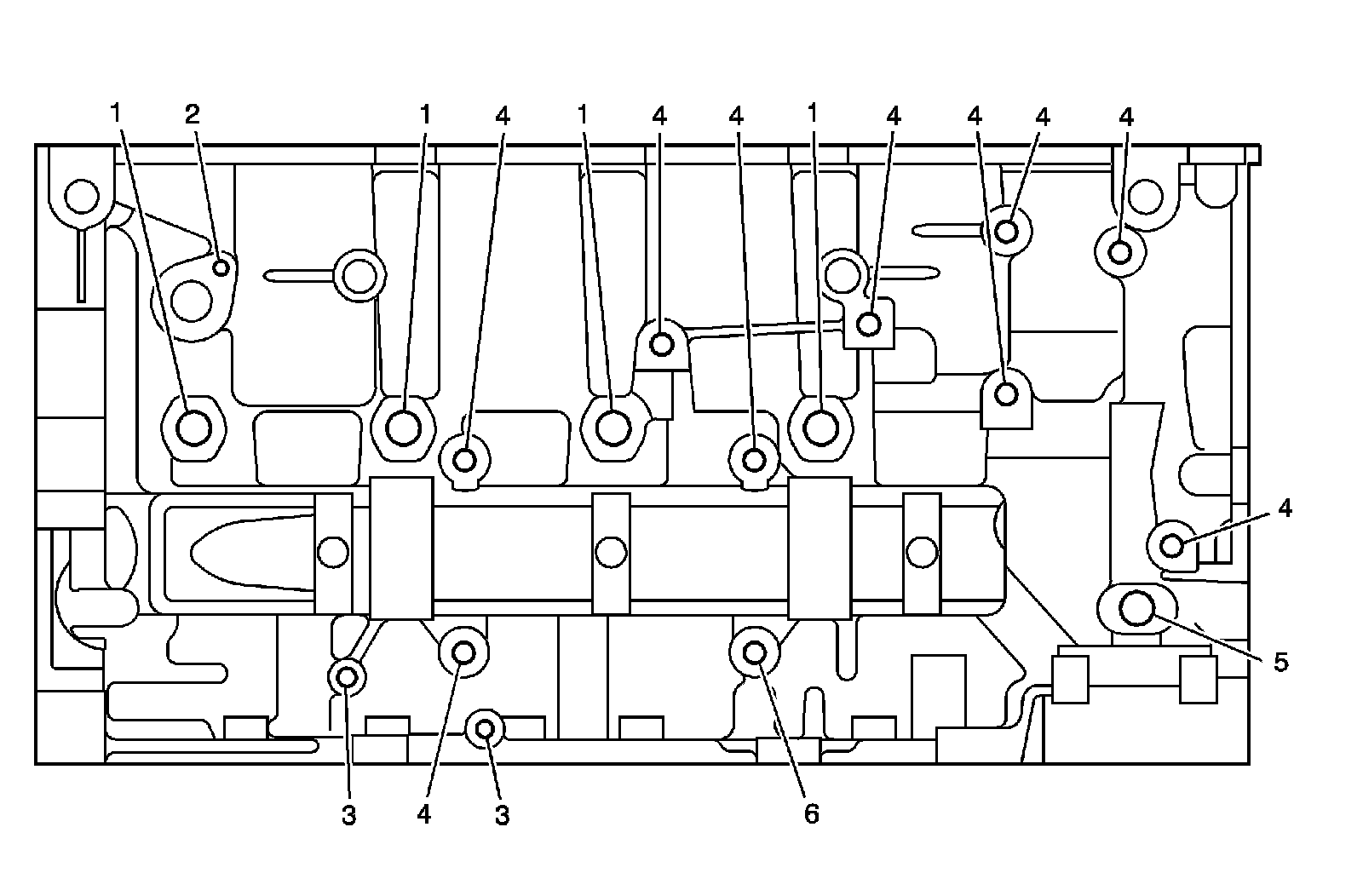
Engine Block - Bottom View:




Engine Block - Bottom View:




Engine Block - Left Side View:




Engine Block - Left Side View:




Engine Block - Right Side View:




Engine Block - Right Side View:




Engine Block - Front View:




Engine Block - Front View:




Engine Block - Rear View:




Engine Block - Rear View:




Cylinder Head - Top View:




Cylinder Head - Top View:




Cylinder Head - End - Front View:




Cylinder Head - End - Front View:




Cylinder Head - End - Rear View:




Cylinder Head - End - Rear View:




Cylinder Head - Intake Manifold Deck View:




Cylinder Head - Intake Manifold Deck View:




Cylinder Head - Exhaust Manifold Deck View:




Cylinder Head - Exhaust Manifold Deck View:




Oil Pan - Bottom View:




Oil Pan - Bottom View:




Oil Pan - Rear View:




Oil Pan - Rear View:




Engine Front Cover:




Engine Front Cover:




Crankshaft Rear Oil Seal Housing:




Crankshaft Rear Oil Seal Housing: