lemon-mirror:
Home >> Isuzu >> 2007 >> i-290 2WD L4-2.9L >> Repair and Diagnosis >> Powertrain Management >> Computers and Control Systems >> Engine Control Module >> Diagrams >> Connector Views

Connector Views



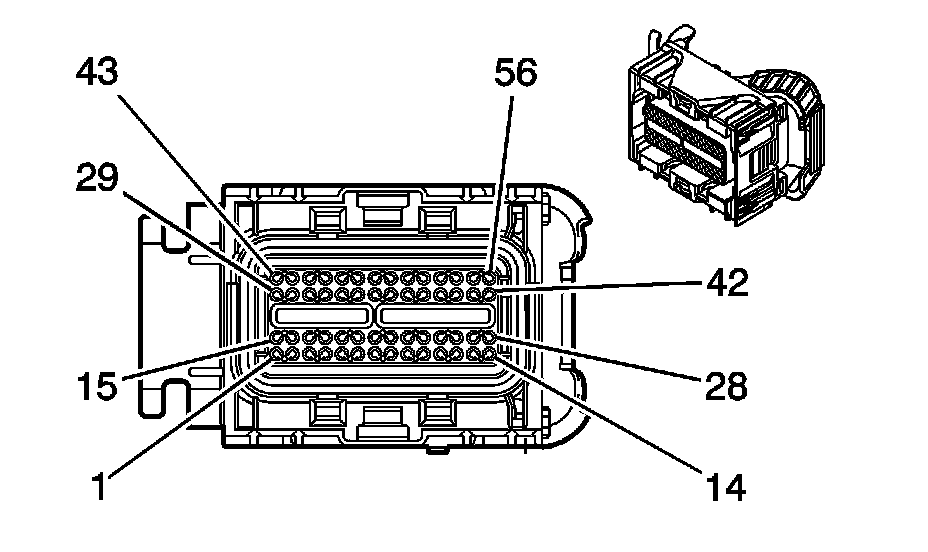
Powertrain Control Module Connector End Views

Powertrain Control Module (PCM) C1









Powertrain Control Module (PCM) C1 (Pin 1 To 19):





Powertrain Control Module (PCM) C1 (Pin 20 To 56):






Powertrain Control Module (PCM) C2









Powertrain Control Module (PCM) C2 (Pin 1 To 16):





Powertrain Control Module (PCM) C2 (Pin 17 To 73):






Powertrain Control Module (PCM) C3









Powertrain Control Module (PCM) C3 (Pin 1 To 21):





Powertrain Control Module (PCM) C3 (Pin 22 To 56):