lemon-mirror:
Home >> Isuzu >> 2006 >> i-350 L5-3.5L >> Repair and Diagnosis >> Diagrams >> Exploded Views >> Engine >> Engine Exhaust and Components

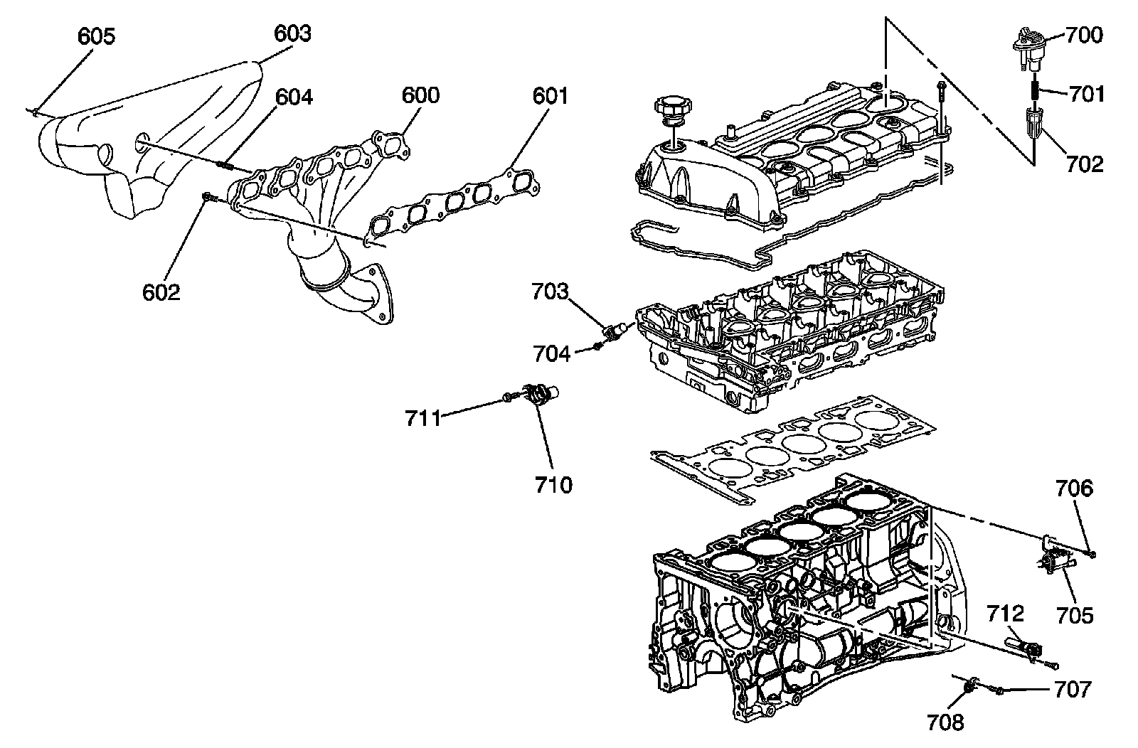
Engine Exhaust and Components



Disassembled Views

Engine Exhaust and Components:





600 - Exhaust Manifold
601 - Exhaust Manifold Gasket
602 - Exhaust Manifold Bolt
603 - Exhaust Manifold Heat Shield
604 - Exhaust Manifold Heat Shield Stud
605 - Exhaust Manifold Heat Shield Nut
700 - Ignition Control Module
701 - Ignition Control Module Spring
702 - Ignition Control Module Boot
703 - Exhaust Camshaft Position Sensor
704 - Exhaust Camshaft Position Sensor Bolt
705 - EVAP Emission Canister Purge Solenoid
706 - EVAP Emission Canister Purge Solenoid Bolt
707 - Knock Sensor Bolt
708 - Knock Sensor
710 - Intake Camshaft Sensor
711 - Intake Camshaft Sensor Bolt
712 - Crankshaft Position Sensor