lemon-mirror:
Home >> Isuzu >> 2006 >> i-280 L4-2.8L >> Repair and Diagnosis >> Maintenance >> Alignment >> Service and Repair >> Trim Height Inspection

Trim Height Inspection


The content of this article/image reflects the changes identified in TSB

Bulletin No.: 06-03-06-002

Date: March 30, 2006


SERVICE MANUAL UPDATE

Subject:
Revised Trim Height Inspection

Models:
2004-2006 Chevrolet Colorado
2004-2006 GMC Canyon


Trim Height Measurements

Trim height is a predetermined measurement relating to vehicle ride height. Incorrect trim heights can cause bottoming out over bumps, damage to the suspension components, and symptoms similar to wheel alignment problems. Check the trim heights when diagnosing suspension concerns and before checking the wheel alignment.

Perform the following before measuring the trim heights:

1. Set the tire pressures to the pressure shown on the certification label. Refer to Label - Vehicle Certification, Tire Place Car, Anti-Theft and Service Parts ID.

2. Check the fuel level. Add additional weight if necessary to simulate a full tank.

3. Verify that the rear compartment is empty except for the spare tire.

4. Verify that the vehicle is on a level surface, such as an alignment rack.

Z Height Measurement

1. Jounce the front and rear suspension to obtain at least 38 mm (1.5 in) deflection, then allow the vehicle to settle.





2. Set the top edge of the level on the reference surface of the steering knuckle (c) and extend the level directly under the rear end of the front attachment bolt of the lower control arm (a).

3. While keeping the level in contact with the knuckle reference surface, adjust the level up/down until the bubble indicates it is horizontally level.

4. Extend a tape measure straight down from the center of the attachment bolt. The point where the tape measure and the level intersect is your first measurement.

5. Keep the top edge of the level on the reference surface of the steering knuckle (c) and move the level directly under the front end of the rear attachment bolt of the lower control arm (b).

6. Extend a tape measure straight down from the center of the attachment bolt. The point where the tape measure and the level intersect is your second measurement.

7. Average the 2 readings (add them together, then divide by 2) and write down the result.

8. Repeat steps 1 through 7, a total of 3 times, writing down the results.

9. Average the results (add them together, then divide by 3) and this result is your final Z height number.

10. Compare your Z height number with the Service Information Z height specification. Refer to Trim Height Specifications.

Z Height Adjustment





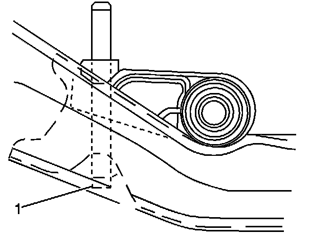
1. For vehicles equipped with a torsion bar suspension, turn the bolt (1) that contacts the torsion arm clockwise to raise, and counterclockwise to lower, the height adjustment. One revolution of the bolt into the nut increases the Z height by approximately 6 mm (0.2 in).

2. For vehicles without torsion bars, replace damaged or worn components as necessary.

D Height Measurement

The D height dimension measurement determines the proper rear end ride height. No adjustment procedure is available. Repair may require replacement of suspension components.

1. With the vehicle on a flat surface, lift upward on the rear bumper 38 mm (1.5 in).

2. Suddenly remove your hands.

3. Allow the vehicle to settle into position.

4. Repeat the jouncing operation 2 more times.





5. The D height is obtained by measuring the distance between the edge of the jounce cup along the jounce bumper center line and the jounce pad on the rear axle.

6. The true D height dimension number is the average of the high and the low measurements. Refer to Trim Height Specifications.

7. If these measurements are out of specifications, inspect for the following conditions:

^ Sagging front suspension-Refer to Torsion Bar Replacement.

^ Sagging rear leaf springs-Refer to Leaf Spring Replacement.

^ Worn rear suspension components

^ Improper tire inflation-Refer to Label-Vehicle Certification, Tire Place Card, Anti-Theft and Service Parts ID.

^ Improper weight distribution

^ Collision damage