lemon-mirror:
Home >> Isuzu >> 2006 >> Ascender 2WD V8-5.3L >> Repair and Diagnosis >> Specifications >> Mechanical Specifications >> Engine >> System Specifications >> Service Limits and General Specifications >> Thread Repair Specifications

Thread Repair Specifications



Thread Repair Specifications

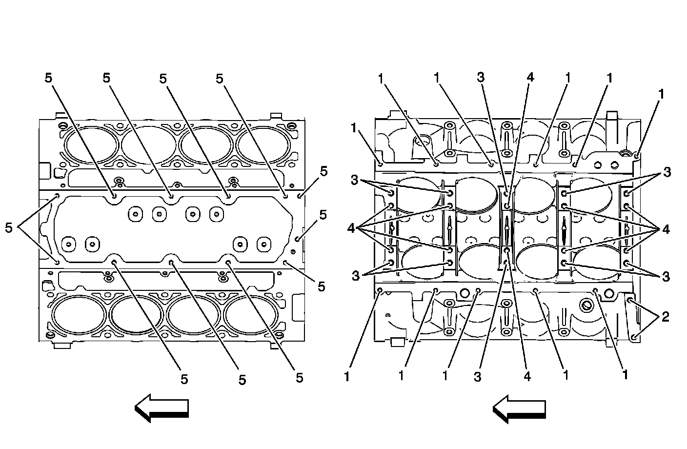
Engine Block:




Engine Block - Front/Rear Views:




Engine Block:




Engine Block - Left/Right Side Views:




Engine Block:




Engine Block - Top/Bottom Views:




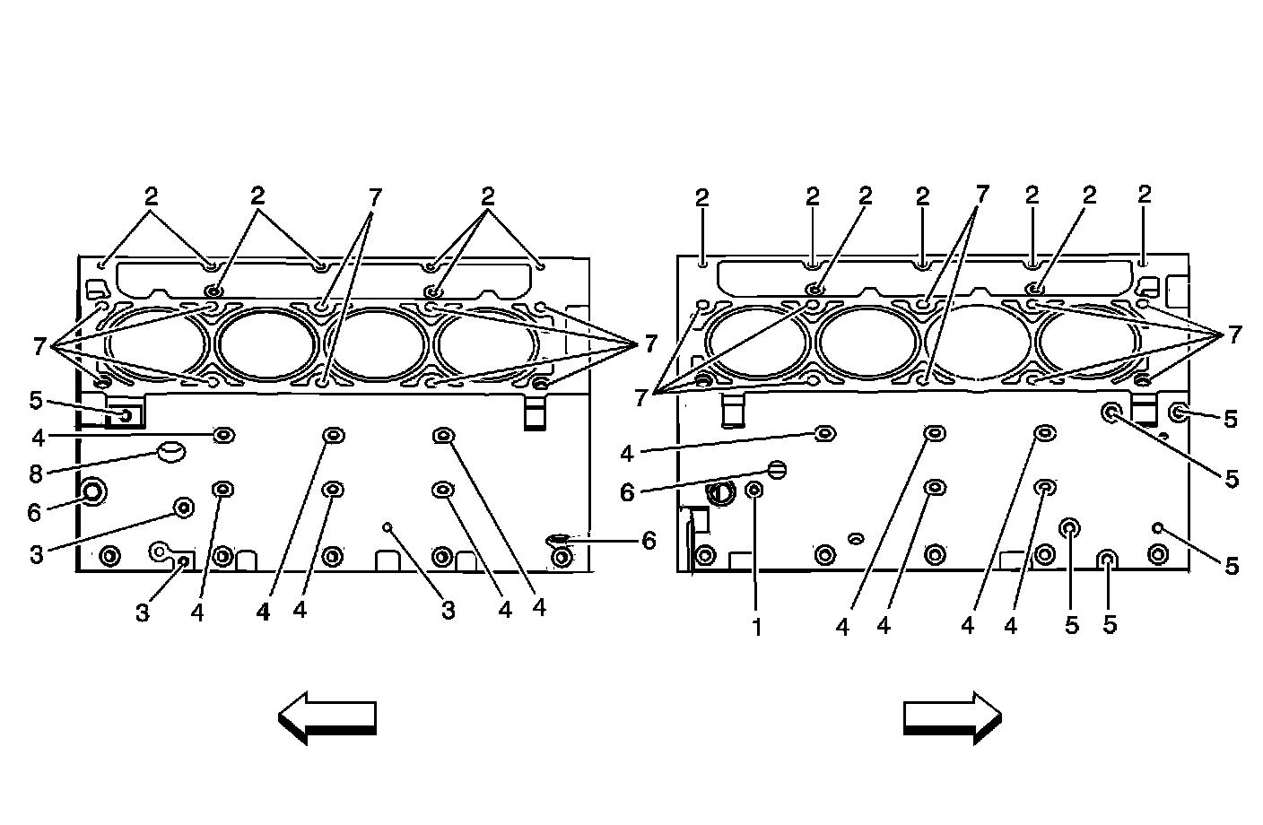
Cylinder Head:




Cylinder Head - Top/End Views:




Cylinder Head:




Cylinder Head - Intake/Exhaust Side Views: