lemon-mirror:
Home >> Isuzu >> 2006 >> Ascender 2WD L6-4.2L >> Repair and Diagnosis >> Transmission and Drivetrain >> Automatic Transmission/Transaxle >> Control Module >> Diagrams

Control Module: Diagrams



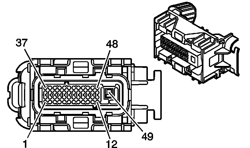
Automatic Transmission Related Connector End Views

Transmission Control Module (TCM), Engine Side:







Transmission Control Module (TCM), Engine Side (5.3L and 6.0L):