lemon-mirror:
Home >> Isuzu >> 2004 >> Rodeo 2WD V6-3.2L >> Repair and Diagnosis >> Power and Ground Distribution >> Fuse >> Locations >> Fuse/Relay Box

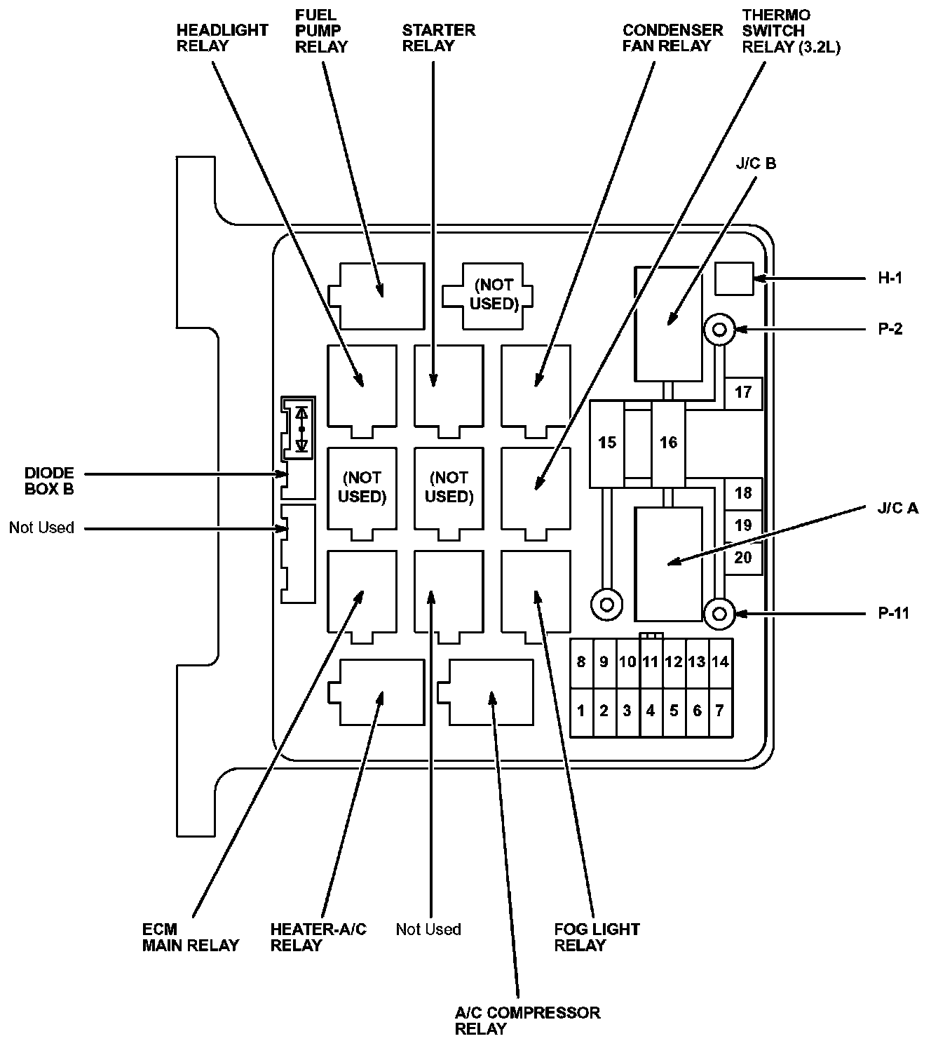
Fuse/Relay Box

Fuse/Relay Box Part 1:



Fuse/Relay Box Part 2:



Fuse/Relay Box Part 1:



Fuse/Relay Box Part 2: