lemon-mirror:
Home >> Isuzu >> 2004 >> Rodeo 2WD V6-3.2L >> Repair and Diagnosis >> Maintenance >> Filters >> Fuel Filter >> Locations

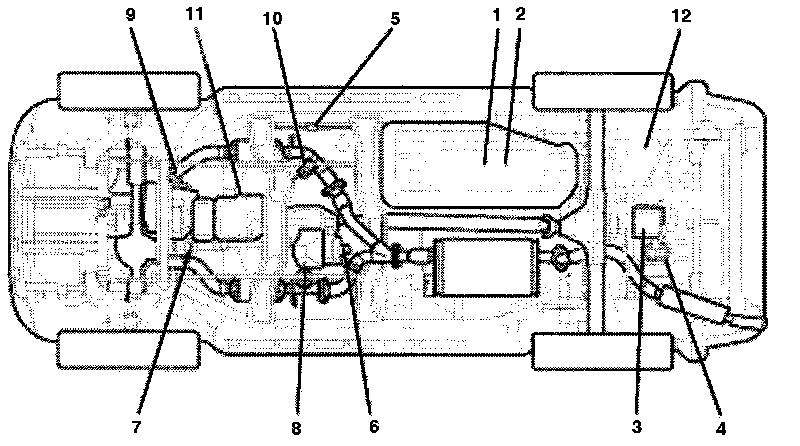
Fuel Filter: Locations








1. Fuel Pump Assembly and Vapor Pressure (Fuel tank Pressure) Sensor
2. Fuel Gauge Unit
3. Evaporative (EVAP) Canister
4. Vent Solenoid (EVAP Canister)
5. Fuel Filter
6. Vehicle Speed Sensor (VSS)
7. Heated Oxygen Sensor (Bank 1, HO2S 1)
8. Heated Oxygen Sensor (Bank 1, HO2S 2)
9. Heated Oxygen Sensor (Bank 2, HO2S 1)
10. Heated Oxygen Sensor (Bank 2, HO2S 2)
11. Low Fuel Pressure Sensor
12. Fuel Pump Controller