lemon-mirror:
Home >> Isuzu >> 2003 >> Rodeo 4WD V6-3.2L >> Repair and Diagnosis >> Transmission and Drivetrain >> Transfer Case >> Service and Repair >> Unit Repair >> Disassembly

Disassembly




Removal





1. Remove the stoneguard (6).
2. Remove the drain plug from the transfer case to drain the oil.
3. Remove the parts listed below.

- Speedometer bush, plate, and speedometer driven gear (11)
- Breather hose (2) (between the transfer case and the transfer actuator assembly)
- Transfer actuator assembly (1)
- Switch bracket (9)
- 2-4 switch assembly (8) (gray harness cover)
- Neutral switch assembly (10) (black harness cover)
- Detent plugs (7), detent springs, and detent balls (2 parts each)





4. Use the companion flange holder (J-8614-11) to remove the end nut from the front companion flange.
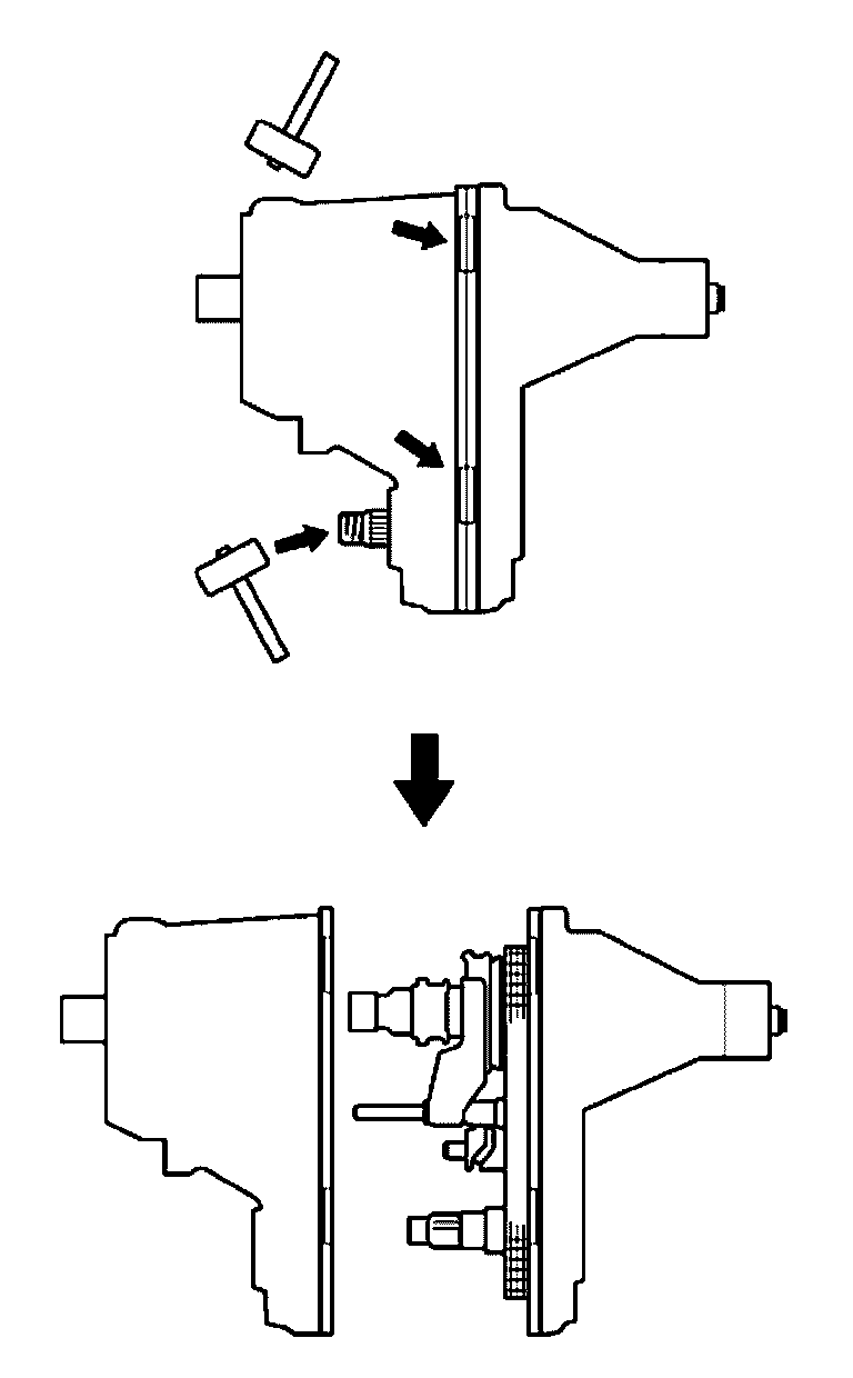
5. remove the bolts attaching the rear cover to the transfer case.





6. Strike the area around the front output shaft head and the rear cover bolt holes with a plastic hammer to remove the rear cover.





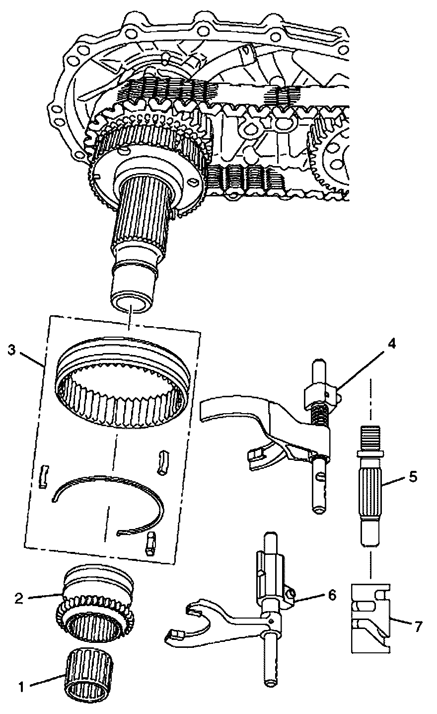
7. Remove the parts listed below from the rear cover.

- H-L sleeve (2)
- H-L shift assembly (6)
- 2-4 sleeve, synchronizer key and synchronizer spring (3) (do not remove the rear spring)
- 2-4 shift assembly (4)
- Shift drum (7) and shift shaft (5)
- Sun gear needle bearing (1)

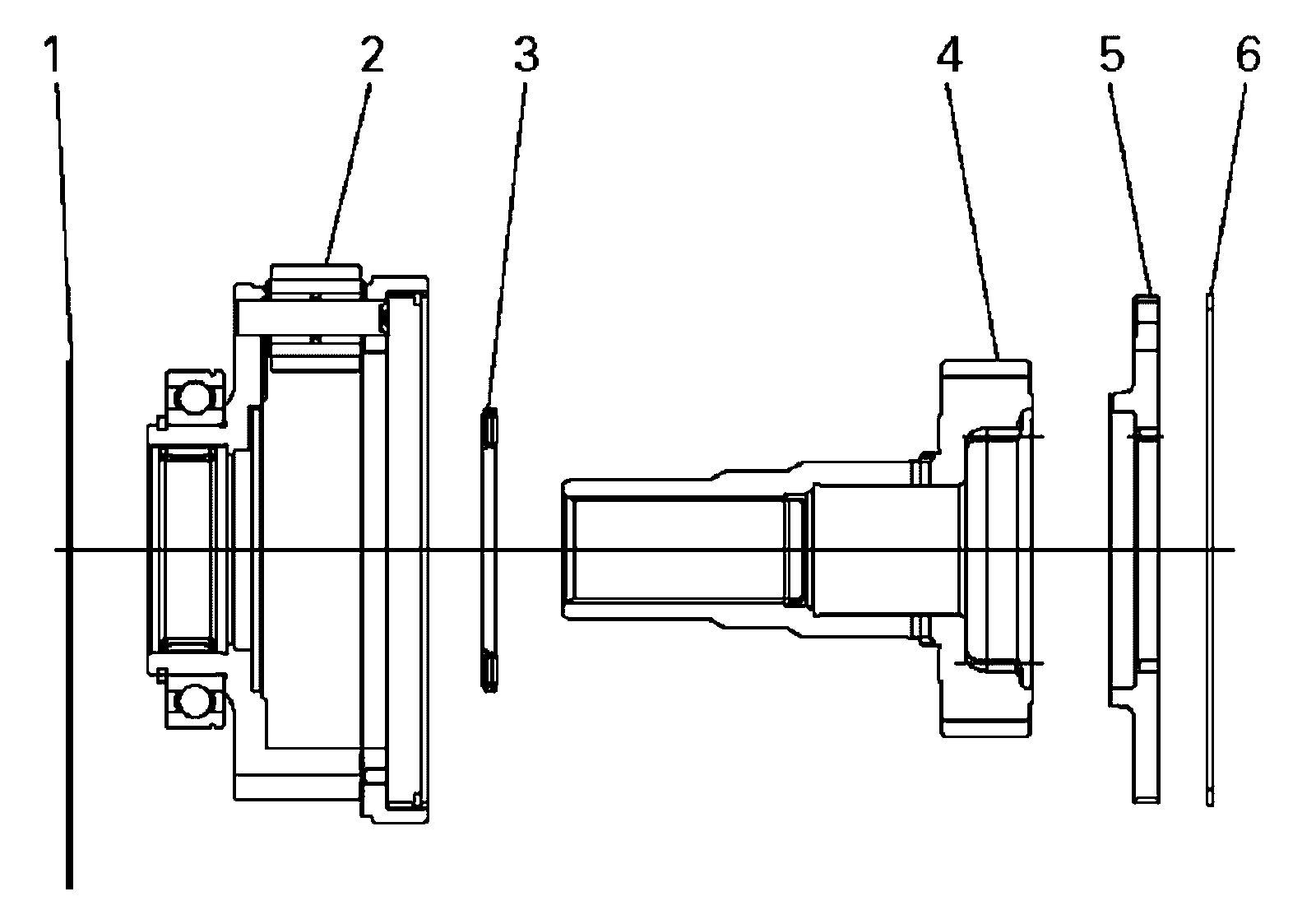
8. Remove the oil pump strainer bolts from the rear cover.





9. Compress the retaining ring at the rear of the chain. Strike the rear end of the main shaft with a plastic hammer to remove the main shaft, transfer chain, and front output shaft assembly from the rear cover. Be careful not to damage the oil pump strainer





10. Remove the transfer chain (6) and the front output shaft (7) from the main shaft.
11. Remove the mainshaft snap ring (15).
12. Remove the speedometer drive gear (14), the ball bearing (13), the retaining ring (12), and the oil pump assembly (10).
13. Remove the sprocket snap ring (9).
14. remove the thrust washer (8), the drive sprocket (5), the inside ring (4), the outside ring (3), the block ring (2), and the rear synchronizer ring (1).
15. Remove the snap ring from the main shaft.





16. Use a press to remove the 2-4 hub from the main shaft.





17. Spread the edges of the retaining ring while lightly tapping on the sun gear input shaft end. Remove the carrier and gear assembly from the transfer case.





18. Remove the dog teeth snap ring (6) from the carrier and gear assembly (2).
19. Remove the planetary dog teeth (5) snap ring from the carrier and gear assembly (2).
20. Remove the carrier snap ring.





21. Use a press to remove the ball bearings.





22. Use a sliding hammer (J-2619-1) and needle bearing replacer (J-29369-2) to remove the needle bearing from the center of the carrier assembly.





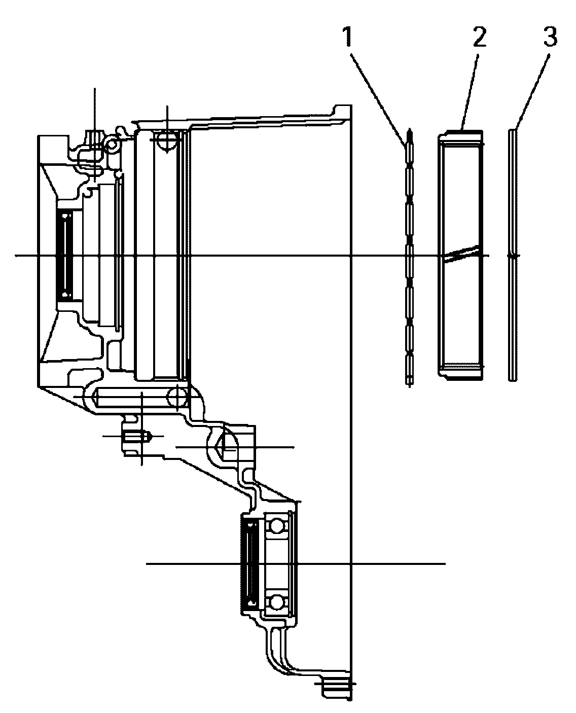
23. Remove the retaining ring (3) (spiral type) together with the internal gear (2) and the damper ring (3).
24. Remove snap ring.
25. Use a press to remove the front output shaft ball bearings.
26. Remove the oil pump wire snap ring from the rear cover.





27. Use a sliding hammer (J-2619-01) and a needle bearing replacer (J-26941) to remove the needle bearing from the front output shaft.