lemon-mirror:
Home >> Isuzu >> 2002 >> Axiom 2WD V6-3.5L >> Repair and Diagnosis >> Maintenance >> Fluids >> Refrigerant >> Testing and Inspection

Refrigerant: Testing and Inspection

General Repair Procedure

Precautions For Replacement or Repair of Air Conditioning Parts

There are certain procedures, practices and precautions that should be followed when servicing air conditioning systems:

- Keep your work area clean.
- Always wear safety goggles and protective gloves when working on refrigerant systems.
- Beware of the danger of carbon monoxide fumes caused by running the engine.
- Beware of discharged refrigerant in enclosed or improperly ventilated garages.
- Always disconnect the negative battery cable and discharge and recover the refrigerant whenever repairing the air conditioning system.
- When discharging and recovering the refrigerant, do not allow refrigerant to discharge too fast; it will draw compressor oil out of the system.
- Keep moisture and contaminants out of the system. When disconnecting or removing any lines or parts, use plugs or caps to close the fittings immediately
Never remove the caps or plugs until the lines or parts are reconnected or installed.
- When disconnecting or reconnecting the lines, use two wrenches to support the line fitting, to prevent from twisting or other damage.
- Always install new O-rings whenever a connection is disassembled.
- Before connecting any hoses or lines, apply new specified compressor oil to the O-rings.
- When removing and replacing any parts which require discharging the refrigerant circuit, the operations described in this section must be performed in the following sequence:
1. Use the J-39500 (ACR(4): HFC-134a Refrigerant Recovery / Recycling / Recharging / System) or equivalent to thoroughly discharge and recover the refrigerant.
2. Remove and replace the defective part.
3. After evacuation, charge the air conditioning system and check for leaks.

Repair Of Refrigerant Leaks

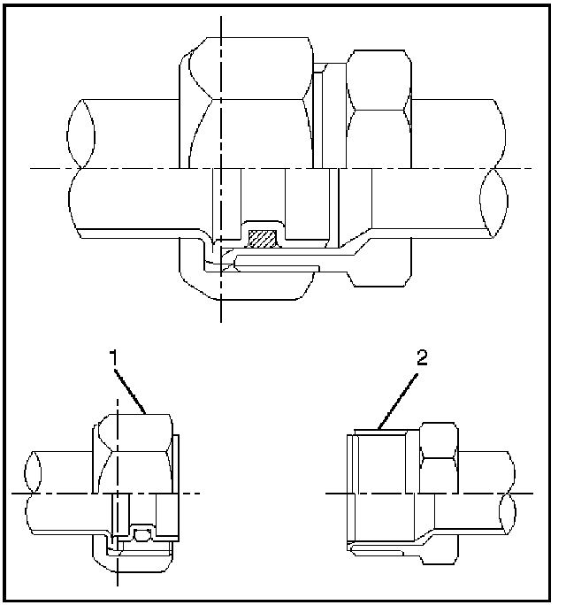
Refrigerant Line Connections




Install new O-rings, if required. When disconnecting or connecting lines, use two wrenches to prevent the connecting portion from twisting or becoming damaged.

When connecting the refrigerant line at a block joint, securely insert the projecting portion of the joint portion into the connecting hole on the unit side and secure with a bolt. Apply the specified compressor oil to the O-rings prior to connecting.






CAUTION: Compressor (PAG) oil to be used varies according to the compressor model. Be sure to apply oil specified for the model of compressor.




O-rings (2) must be fitted in the groove (1) of refrigerant line.

Insert the nut into the union.




First, tighten the nut by hand as much as possible, then tighten the nut to the specified torque.

Leak Check

Inspection of refrigerant leak

Refrigerant leak may cause an adverse effect not only on the performance and durability of each component of the air-conditioner, but also on the global atmosphere.

Therefore, it is most important to repair refrigerant leak when there is any leak found.

Step 1 - 2:




Inspection flow of refrigerent Leak

Inspection Steps
Check the components of air-conditioner to see if there occurs any refrigerant leak along the flow of refrigerant.

NOTE:
- To avoid refrigerant leak detection error, avoid refrigerant vapor and cigarette smoke presence when performing the inspection. Also, select a location that is not susceptible to wind, in case refrigerant vapor is found it will not be blown off.
- Inspection should be conducted chiefly on the pipe connections and sections where a marked oil contamination is found. When refrigerant is leaking, oil inside is also leaking at the same time.
- It is possible to visually check the leak from inside the cooling unit. Follow the method below when performing the inspection. Remove the drain hose or resistor of the cooling unit, and insert a leak detector to see if there are signs of leakage.

High Pressure Side

1. Discharger section of compressor.
2. Inlet/outlet section of condenser.
3. Inlet/outlet section of receiver driver.
4. Inlet section of cooling unit.

Low Pressure Side

1. Outlet section of cooling unit.
2. Intake section of compressor.

Major Checking Points of Refrigerant Leak

Compressor

- Pipe connection
- Sealing section of shaft
- Mating section or cylinder

Condenser

- Pipe connection
- Welds of condenser body

Receiver driver

- Pipe connection
- Attaching section of pressure switch
- Section around the sight glass

Evaporator unit (cooling unit)

- Pipe connections
- Connections of expansion valve
- Brazed sections of evaporator

NOTE: The evaporator and expansion valve are contained in the case. Remove the drain hose or the resistor of the cooling unit and insert a leak detector when checking for any leak.

Flexible hose

- Pipe connection
- Caulking section of the hose
- Hose (cracks, pinholes, flaws)

Pipe
- Pipe connection
- Pipe (cracks, flaws)

Charge valve

NOTE: The charge valve, which is used to connect the gauge manifold, is normally provided with a resin cap. When the valve inside gets deteriorated, refrigerant will leak out.

Leak at Refrigerant Line Connections

1. Check the torque on the refrigerant line fitting and, if too loose, tighten to the specified torque.
- Use two wrenches to prevent twisting and damage to the line.
- Do not over tighten.

2. Perform a leak test on the refrigerant line fitting.
3. If the leak is still present, discharge and recover the refrigerant from the system.
4. Replace the O-rings.
- O-rings cannot be reused. Always replace with new ones.
- Be sure to apply the specified compressor oil to the new O-rings.
5. Retighten the refrigerant line fitting to the specified torque.
- Use two wrenches to prevent twisting and damage to the line.
6. Evacuate, charge and retest the system.

Leaks In The Hose

If the compressor inlet or outlet hose is leaking, the entire hose must be replaced. The refrigerant hose must not be cut or spliced for repair.
1. Locate the leak.
2. Discharge and recover the refrigerant.
3. Remove the hose assembly.
- Cap the open connections at once.
4. Connect the new hose assembly.
- Use two wrenches to prevent twisting or damage to the hose fitting.
- Tighten the hose fitting to the specified torque.
5. Evacuate, charge and test the system.

Compressor Leaks

If leaks are located around the compressor shaft seal or shell, replace or repair the compressor.