lemon-mirror:
Home >> Isuzu >> 2002 >> Axiom 2WD V6-3.5L >> Repair and Diagnosis >> Heating and Air Conditioning >> Control Module HVAC >> Service and Repair

Control Module HVAC: Service and Repair

Removal Procedure

1. Remove the fuse and relay box cover from under the hood.
2. Consult the diagram on the cover to determine which is the correct relay.




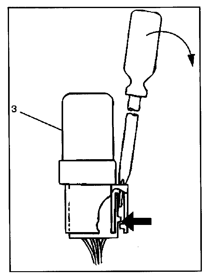
3. Insert a small screwdriver into the catch slot on the forward side of the fuel pump relay.
- The screwdriver blade will release the catch inside.




4. Pull the relay straight up and out of the fuse and relay box.

Installation Procedure

1. Insert the relay into the correct place in the fuse and relay box with the catch slot facing forward.
2. Press down until the catch engages.
- An audible "click" will be heard.




3. Install the fuse and relay box cover.