lemon-mirror:
Home >> Isuzu >> 2001 >> VehiCROSS 4WD V6-3.5L >> Repair and Diagnosis >> Maintenance >> Alignment >> Service and Repair >> Wheel Alignment Procedures

Wheel Alignment Procedures

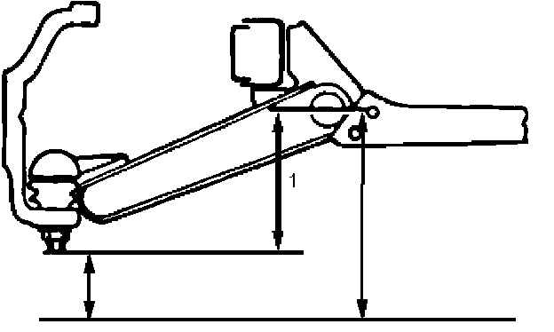
Trim Height Adjustment
Adjust the trim height (1) by means of the adjusting bolt on the height control arms.

Caution: When adjusting front end alignment, be sure to begin with trim height first, as it may change other adjusted alignments.








1. Check and adjust the tire inflation pressures.
2. Park the vehicle on a level ground and move the front of the vehicle up and down several times to settle the suspension.
3. Make necessary adjustment with the adjusting bolt on the height control arms.
Trim height: 119 mm (4.69 inch)

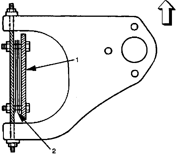
Caster Adjustment
The caster angle can be adjusted by means of the caster shims (1) installed between the chassis frame (2) and fulcrum pins.
Caster angle: 2 °05' ± 45'

Caution: Left and right side must be equal within 30'.








Note: Difference of the caster shim front/rear thickness should be 3.6 mm (0.142 inch) or less. Overall thickness of caster shim and camber shim should be 10.8 mm (0.425 inch) or less.

Tighten the fulcrum pin bolt to the specified torque.
Torque: 152 Nm (112 ft. lbs.)

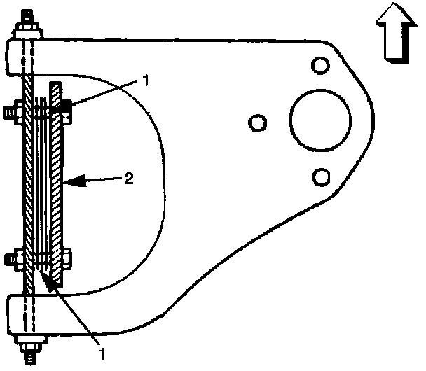
Camber Adjustment
The camber angle can be adjusted by means of the camber shims (2) installed in position between the chassis frame (1) and fulcrum pins
- Camber angle: 0° ± 30'
- King pin inclination: 12 °30' ± 30'

Caution: Left and right side must be equal within 30'.








Note: Overall thickness of caster shim and camber shim should be 10.8 mm (0.425 inch) or less.





Tighten the fulcrum pin bolt to the specified torque.
Torque: 152 Nm (112 ft. lbs.)

Toe-in Adjustment
1. To adjust the toe-in angle, loosen the lock nuts (2) on the outer track rods (1) and turn the outer track rods. Turn both rods the same amount, to keep the steering wheel centered.
Toe-in: 0 ± 2 mm (0 ± 0.08 inch)





2. Tighten the lock nut to the specified torque.
Torque: 118 Nm (87 ft. lbs.)

Maximum Steering Angle Adjustment
The maximum steering angle of the front wheels can be adjusted with the stop bolts under the frame side members.





1. Position each front wheel on the turning radius gauge in a straight-ahead position.
2. Set the parking brake firmly.
3. Adjust the inside wheel angle of each side with the stop bolts.

Note: The maximum protruding length (1) of stop bolt (3) from the lock nut (2) should be 10 mm or less.





4. Similarly adjust the inside wheel angle of the other side with stop bolt.
Inside wheel: 33 ° (+0 ° to -3 °)
Outside wheel: 31 °

Note: Maximum steering angles should be set after adjusting front wheel alignment

5. If the stop between the lower link end and the knuckle comes ahead of the stop bolt, adjust the stop bolt so that inner stop bolt touches the drop arm (relay lever).





6. Tighten the lock nut to the specified torque.
Torque: 23 Nm (17 ft. lbs.)