lemon-mirror:
Home >> Isuzu >> 2001 >> Rodeo S 2WD L4-2.2L >> Repair and Diagnosis >> Maintenance >> Timing Component Alignment Marks >> Locations

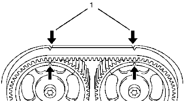
Timing Component Alignment Marks: Locations












CAUTION: Incorrect removal or installation of the timing belt can result in damage to internal engine components.

For complete Timing Belt Removal and Installation information: Service and Repair