lemon-mirror:
Home >> Isuzu >> 2001 >> Rodeo LS 2WD V6-3.2L >> Repair and Diagnosis >> Heating and Air Conditioning >> System Relay >> Testing and Inspection

System Relay: Testing and Inspection

Heater Relay




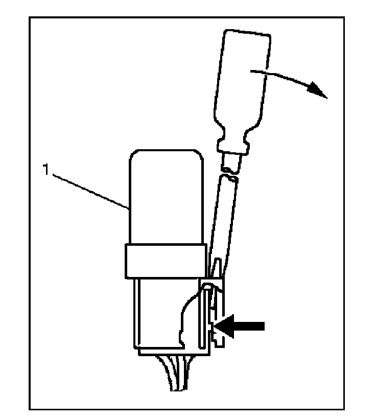
1. Disconnect the heater relay (X-1).
- When removing the connector for relay, unfasten the tank lock of the connector by using a screwdriver, then pull the relay (1) out.




2. Check for continuity between the heater relay (X-1) terminals.