lemon-mirror:
Home >> Isuzu >> 2000 >> Trooper LS V6-3.5L >> Repair and Diagnosis >> Maintenance >> Timing Belt >> Service and Repair

Timing Belt: Service and Repair


REMOVAL
1. Disconnect battery ground cable.
2. Remove air cleaner assembly.
3. Remove radiator upper fan shroud from radiator.





4. Move drive belt tensioner to loose side using wrench then remove drive belt.
5. Remove cooling fan assembly four nuts, then the cooling fan assembly.
6. Remove cooling fan drive pulley assembly.
7. Remove idle pulley assembly.
8. Remove serpentine belt tensioner assembly.
9. Remove power steering pump assembly.
10. Remove crankshaft pulley assembly using J-8614-01 crankshaft holder, hold crankshaft pulley remove center bolt, then the pulley.
11. Remove right side timing belt cover then left side timing belt cover.
12. Remove lower timing belt cover





13. Remove Pusher.

CAUTION: The pusher prevents air from entering the oil chamber. Its rod must always be facing upward.

14. Remove timing belt.

CAUTION:
1) Do not bend or twist the belt, otherwise its core could be damaged. The belt should not be bent at a radius less than 30 mm.
2) Do not allow oil or other chemical substances to come in contact with the belt. They will shorten the life.
3) Do not attempt to pry or stretch the belt with a screw driver or any other tool during installation.
4) Store timing belt in a cool and dark place. Never expose the belt direct sunlight or heat.

INSTALLATION

NOTE: For additional timing belt installation and alignment procedures, see TSB IB00-S005.









NOTE: For correct belt installation, the letter on the belt must be able to be read as viewed from the front of the vehicle.

1. Install timing belt.





a. Align groove of crankshaft timing pulley with mark on oil pump.
Align the mark on the crankshaft timing pulley with alignment mark (white dots line) on the timing belt.
Secure the belt with a double clip.

NOTE: When timing marks are aligned, No.2 piston will be on Top Dead Center.








b. Align the marks on the camshaft drive gear pulleys with the corresponding alignment marks on the cylinder head covers.





c. Align the alignment mark (white line) on the timing belt with alignment mark on the RH bank camshaft drive gear pulley (on the left side as viewed from the front of the vehicle).
Secure the belt with a double clip.





d. Align the alignment mark (white line) on the timing belt with the alignment mark on the LH bank camshaft drive gear pulley.
When aligning the timing marks, use a wrench to turn the camshaft drive gear pulley, then set the timing mark between timing belt and camshaft drive gear pulley.
Secure the belt with a double clip.

NOTE: It is recommended for easy installation that the belt be secured with a double clip after it is installed to each Pulley

e. Install crankshaft pulley temporarily and tighten center bolt by hand (do not use a wrench).
Turn the crankshaft pulley clockwise to give some belt slack between the crankshaft timing pulley and the RH bank camshaft drive gear pulley.





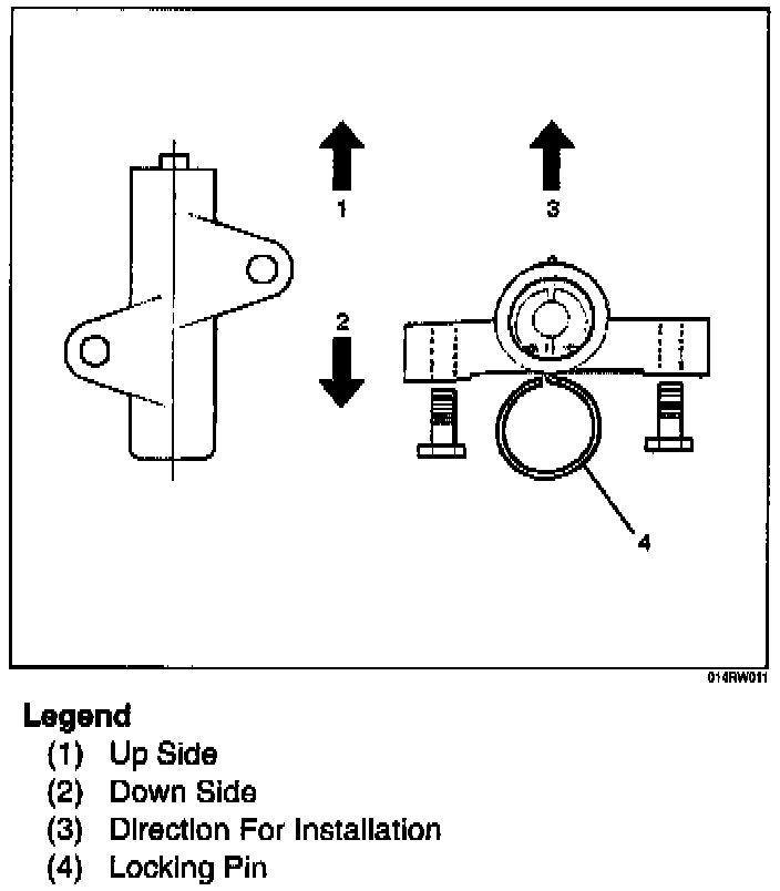
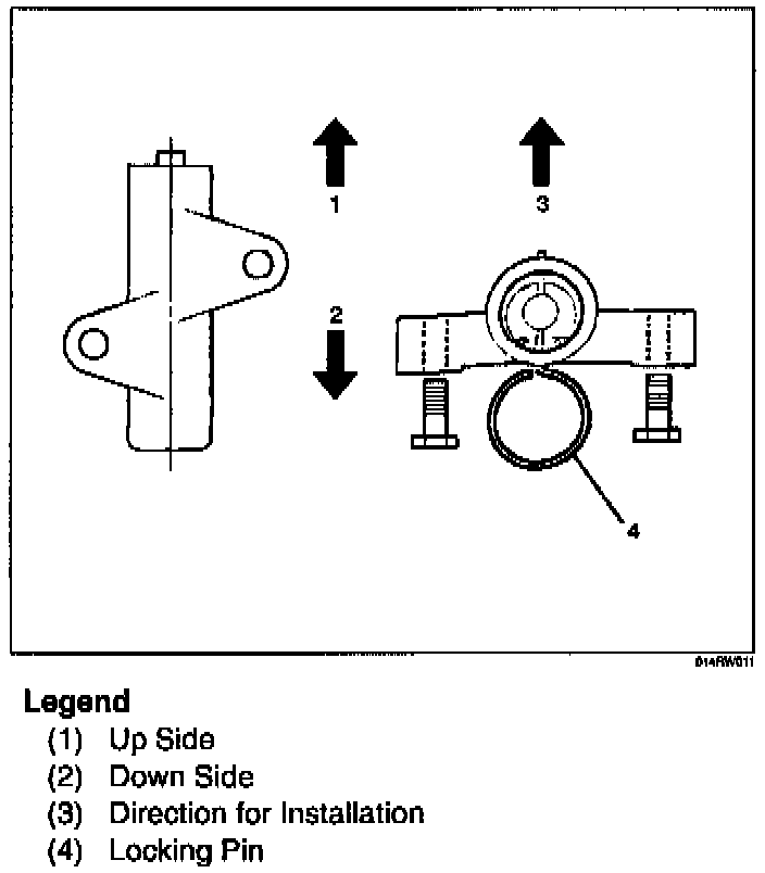
2. Install pusher and tighten bolt to the specified torque.
a. Install the pusher while pushing the tension pulley to the belt.
b. Pull out pin from the pusher.

NOTE: When reusing the pusher, press the pusher with approximately 100Kg to retract the rod, and insert a pin (1.4 mm piano wire).

c. Remove double clips from timing belt pulleys.
Turn the crankshaft pulley clockwise by two turns.
Torque: 25 Nm (18 ft. lbs.)








3. Install timing belt cover.
Remove crankshaft pulley that was installed in step 1 item 5.
Tighten bolts to the specified torque.
Torque: 19 Nm (14 ft. lbs.)
4. Install crankshaft pulley using J-8614-01, hold the crankshaft pulley and tighten center bolt to the specified torque.
Torque: 167 Nm (123 ft. lbs.)
5. Install fan pulley bracket and tighten fixing bolts to the specified torque.
Torque: 22 Nm (16 ft. lbs.)
6. Install power steering pump assembly and tighten to the specified torque.
Torque:
M8 bolt: 22 Nm (16 ft. lbs.)
M10 bolt: 46 Nm (34 ft. lbs.)
7. Install cooling fan assembly and tighten bolts/nuts to the specified torque.
Torque: 22 Nm (16 ft. lbs.) for fan pulley and fan bracket.
Torque: 10 Nm (88.5 inch lbs.) for fan and clutch assembly





8. Move drive belt tensioner to loose side using wrench, then install drive belt to normal position.
9. Install radiator upper fan shroud.
10. Install air cleaner assembly.